Установки для обслуживания пневматического оборудования
Пневматическое оборудование трамвайных вагонов и троллейбусов нуждается в периодической проверке действия, продувке трубопроводов и отогревании в зимнее время при замерзании конденсата. Для проведения всех этих операций в трамвайных и троллейбусных депо предусматривают соответствующие устройства и оборудование.
К рабочим местам, где осматривают пневматическое оборудование подвижного состава, от компрессорной станции депо в осмотровых канавах прокладывают воздухопровод с воздухоразборными кранами. К воздухоразборным кранам присоединяют гибкие резиновые рукава с наконечниками или головками для подключения к междувагонным пневматическим рукавам (в трамвайном депо).
Для предупреждения замерзания конденсата в воздухопроводе и приборах пневматического оборудования подвижного состава, когда температура наружного воздуха опускается ниже 0° С, требуется периодическая продувка пневматической системы и спуск масла и конденсата из воздушных резервуаров и маслоотделителей.
Из перечисленных операций наиболее сложной является прогревание трубопроводов. Это прогревание может осуществляться пропусканием через трубопровод нагретого сжатого воздуха и электроподогревом. Прогревание трубопровода паяльной лампой согласно противопожарным требованиям запрещено, не говоря уже о том, что этот способ не гигиеничен и требует значительных затрат времени.
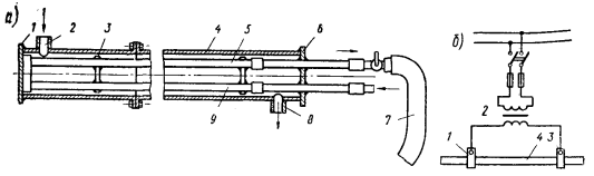
Наиболее простой установкой для прогревания трубопровода на подвижном составе является устройство, показанное на рис. VII.13, а. В газовую трубу 4 диаметром 65 мм и длиной 10— 15 м пропускают две соединенные между собой газовые трубы 5 и 9 диаметром 19 мм, которые с одной стороны прикреплены к фланцу 1, ас другой вварены во фланец 6. К трубе 4 приварены два патрубка 2 и 8, через которые подводится пар из котельной под давлением 0,3—0,4 Мн/м2 (3—4 кГ/см2).

Рис. VII.13. Установки для размораживания трубопроводов подвижного состава: а — с паровым подогревом; б — с электроподогревом
Между трубами 5 и 9 приварены распорки 3 для жесткости. Через трубы 5 и 9 пропускается сжатый воздух из воздухопровода в осмотровой канаве. В течение 15—20 мин он нагревается до температуры 85—95° С и затем используется для прогревания трубопровода на подвижном составе. На конец трубы 5 накладывают термоизоляцию и насаживают резиновый рукав 7. Такое устройство делают в каждой осмотровой канаве. Оно проверено в условиях эксплуатации трамвайных вагонов Ленинградским трамвайно-троллейбусным управлением.
Портативной и экономичной является также установка для нагревания сжатого воздуха нагревательными элементами, расположенными непосредственно на трубе со сжатым воздухом. В этом случае поверхность газовой трубы диаметром 25 мм покрывают асбестовой изоляцией, на которую навивают фехралевую или нихромовую проволоку с таким расчетом, чтобы сжатый воздух в течение 15—20 мин нагревался до температуры 85—95° С. Для предупреждения теплопотерь сверх фехралевой или нихромовой проволоки накладывают слой термоизоляции. Поскольку это устройство располагается в осмотровой канаве, по условиям безопасности питание нагревательных элементов необходимо производить от напряжения не выше 36 в.
Для отогревания замерзшего конденсата в трубопроводах подвижного состава пользуются установкой, показанной на рис. VII.13, б. Эта установка состоит из понизительного трансформатора 2 220/36 в, вторичная обмотка которого присоединяется к клеммам 1 хомутов 3, закрепленных на замерзшем участке трубопровода 4 подвижного состава. Для уменьшения переходного сопротивления места, на которых закрепляются хомуты 3, должны быть зачищены до металлического блеска. Для разогревания замерзшего конденсата в течение 10 мин ток в трубопроводе должен быть около 300 а.
Дата добавления: 2025-02-01; просмотров: 310;











