Анатомия речной миноги: особенности строения и систематика
Систематическое положение объекта. Vertebrata (Позвоночные) представляют собой подтип хордовых животных, характеризующихся наличием позвоночного столба или его зачатков. Класс Cyclostomata (Круглоротые) объединяет примитивных позвоночных, лишенных челюстей и парных конечностей. Подкласс Petromyzones (Миноги) включает представителей, ведущих паразитический или полупаразитический образ жизни. Объектом данного исследования является Lampetra fluviatilis L. (Речная минога), демонстрирующая характерные черты организации бесчелюстных позвоночных.
Материал и оборудование. Для успешного проведения лабораторной работы необходимо подготовить следующие материалы и инструменты. На одного-двух студентов требуется фиксированная в спирте минога, разрезанная по сагиттальной (центральной продольной вертикальной) плоскости. Также необходимы поперечные разрезы миноги в области жаберных мешков и в области кишечника. Для препарирования используют ванночку, две препаровальные иглы и ручную лупу с увеличением 4-6 крат.
Задание. В ходе работы необходимо рассмотреть внешний вид миноги и изучить особенности строения внутренних органов. Исследование проводят последовательно: сначала на сагиттальном разрезе, затем на поперечных срезах тела. По результатам наблюдений выполняют следующие рисунки: внешний вид миноги сбоку, расположение внутренних органов на продольном разрезе, поперечный разрез в области жаберных мешков и поперечный разрез в области кишки.
Внешнее строение речной миноги. Речная минога имеет удлиненное змеевидное тело, которое без четких границ разделяется на голову, туловище и хвост. Голова и туловище в сечении округлые, тогда как хвостовой отдел сжат с боков, что обеспечивает эффективное движение в воде. Кожные покровы лишены чешуи и каких-либо элементов наружного скелета, но обильно покрыты слизью, выделяемой одноклеточными кожными железами.

Рис. 6. Внешний вид речной миноги: 1 — ротовая (присасывательная) воронка; 2 — непарная ноздря; 3 — глаз; 4 — наружные отверстия жаберных мешков; 5 — органы боковой линии; 6 — анальное отверстие; 7 — мочеполовой сосочек; 8 — спинные плавники; 9 — хвостовой плавник; 10 — миомер; 11 — миосепта
Спереди располагается присасывательная предротовая воронка, окруженная кожными сосочками и имеющая на внутренней поверхности роговые «зубы». Расположение и число этих зубных образований имеют важное систематическое значение. В глубине воронки находится ротовое отверстие, и виден конец языка, вооруженный сложной роговой зубной пластинкой.
На верхней поверхности головы расположена непарная ноздря, а позади нее находится участок непигментированной кожи в области теменных «глаз», служащих добавочными светочувствительными органами. Парные глаза, расположенные по бокам головы, прикрыты прозрачной кожей. Позади глаз открывается 7 пар наружных отверстий жаберных мешков, обеспечивающих дыхательную функцию.
На коже головы и туловища заметны органы боковой линии в виде бугорков с небольшой прорезью. На вентральной поверхности тела на границе туловища и хвоста расположено заднепроходное отверстие, а позади него — небольшой мочеполовой сосочек. На дорсальной поверхности находятся два спинных плавника, представляющих собой остатки сплошной непарной плавниковой складки.

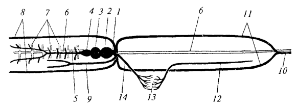
Рис. 7. Ротовая воронка речной миноги: 1 — ротовое отверстие; 2 — конец языка; 3 — роговая зубная пластинка на конце языка; 4 — верхняя (надротовая) роговая зубная пластинка; 5 — нижняя (подротовая) роговая зубная пластинка; 6 — верхние губные «зубы»; 7 — боковые губные «зубы»; 8 — мелкие краевые губные «зубы»; 9 — кожистая бахрома краев воронки
Задний конец тела окаймлен хвостовым плавником, который разделен осевым скелетом на две равные части. Мышцы туловища и хвоста состоят из изогнутых сегментов — миомеров, разделенных соединительнотканными прослойками — миосептами. Эти структуры становятся хорошо заметны после удаления кожного покрова на небольшом участке тела.
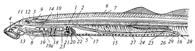
Внутреннее строение миноги. Скелетная система. Скелет миноги образован хрящевой и соединительной тканью, что характерно для низших позвоночных. Функции осевого скелета выполняет хорда, имеющая в поперечном сечении правильную круглую форму и окруженная толстой соединительнотканной оболочкой. Кверху от боковых отделов хорды находятся небольшие парные хрящи — зачатки верхних (невральных) дуг, ограничивающие с боков полость для спинного мозга.

Рис. 8. Продольный разрез речной миноги: 1 — хорда; 2 — соединительнотканная оболочка хорды; 3 — мозговой череп; 4 — хрящи предротовой воронки; 5 — околосердечный хрящ; 6 — миомер; 7 — миосепта; 8 — мускулатура языка; 9 — головной мозг; 10 — спинной мозг; 11 — обонятельный мешок; 12 — питуитарный вырост; 13 — ротовая полость; 14 — пищевод; 15 — кишка; 16 — анальное отверстие; 17 — печень; 18 — жаберные мешки; 19 — дыхательная трубка; 19а — внутренние отверстия жаберных мешков; 20 — предсердие; 21 — желудочек; 22 — венозная пазуха; 23 — брюшная аорта; 24 — почка; 25 — мочеточник; 26 — мочеполовой синус; 27 — половая железа; 28 — мочеполовой сосочек; 29 — половая пора
Череп разделяется на два отдела: осевой (мозговой) и висцеральный. Мозговой череп представлен открытой сверху коробкой, защищающей головной мозг снизу и с боков; затылочная часть не развита. Спереди к черепной коробке примыкает непарная обонятельная капсула, а с боков — пара слуховых капсул. Боковые стенки образуют слабо выраженные углубления — глазницы.
Висцеральный череп включает хрящи, поддерживающие предротовую воронку и язык, а также ажурную хрящевую решетку, окружающую область жаберных мешков. В задней части располагается околосердечный хрящ, окружающий сердце сзади и с боков. Плавники поддерживаются тонкими хрящевыми плавниковыми лучами.

Рис. 9. Схемы поперечных разрезов речной миноги: А — в области жаберных мешков; Б — в области кишки: 1 — хорда; 2 — соединительнотканная оболочка хорды; 3 — хрящевые зачатки верхних дуг; 4 — миомер; 5 — миосепта; 6 — спинной мозг; 7 — спинная аорта; 8 — хрящ языка; 9 — мускулатура языка; 10 — пищевод; 11 — жаберный мешок; 12 — наружное отверстие жаберного мешка; 13 — внутреннее отверстие жаберного мешка; 14 — дыхательная трубка; 15 — брюшная аорта; 16 — кишка; 17 — спиральный клапан; 18 — почка; 18а — мочеточник; 19 — половая железа; 20 — плавниковый луч; 21 — лимфатические полости; 22 — задние кардинальные вены
Мускулатура и нервная система. Мускулатура представлена боковыми мышцами туловища и хвоста, образованными мышечными сегментами — миомерами, имеющими сложную форму. В жаберной области боковые мускульные пласты раздваиваются, формируя наджаберную и поджаберную мускулатуру. В головном отделе особенно хорошо развита сложно дифференцированная мускулатура языка, обеспечивающая активное питание.
Центральная нервная система отчетливо разделена на головной и спинной мозг. Головной мозг защищен хрящевым черепом, а спинной мозг имеет лентовидно уплощенную форму и располагается над хордой. Спинной мозг прикрыт сверху жировой подушкой и с боков охвачен общей с хордой соединительнотканной оболочкой.

Рис. 10. Скелет миноги: А — вид сверху; Б — вид сбоку. Мозговой череп: 1 — черепная коробка; 2 — обонятельная капсула; 3 — слуховая капсула; 4 — подглазничная дуга. Висцеральный череп: 5 — кольцевой хрящ; 6 — передний верхний хрящ; 7 — задний верхний хрящ; 8 — боковые хрящи; 9 — палочковидные хрящи; 10 — подъязычный хрящ; 11 — жаберная решетка; 12 — околосердечный хрящ. Осевой скелет: 13 — хорда; 14 — зачатки невральных дуг
Наружная непарная ноздря коротким носовым каналом сообщается с округлым складчатым обонятельным мешком. От обонятельного мешка вниз и назад отходит слепой назо-гипофизарный (питуитарный) вырост, который служит своеобразной пипеткой, насасывающей и выталкивающей воду из ноздри для обновления ее порций в обонятельном мешке.
Пищеварительная система. Пищеварительная система начинается ротовым отверстием, лежащим в глубине присасывательной воронки и ведущим в ротовую полость. Глотка у миноги имеется только на стадии личинки; в процессе метаморфоза она разделяется на два самостоятельных отдела — пищевод и дыхательную трубку. Пищевод начинается от задней части ротовой полости, проходит под хордой и переходит в кишку.
Кишка тянется над печенью, идет назад без изгибов по нижней стороне брюшной полости и заканчивается анальным отверстием. Внутренняя часть слизистой оболочки кишечника образует продольную складку — спиральный клапан, который вдается в полость кишки и значительно увеличивает ее всасывающую поверхность. Позади сердца располагается крупная компактная печень.
Процесс питания миноги включает присасывание предротовой воронкой к телу жертвы. Роговые «зубы» обеспечивают прочное прикрепление, а роговая зубная пластинка на кончике языка проделывает отверстие в коже. Благодаря ритмичным сокращениям мощного мускулистого языка, действующего как поршень, кровь насасывается в ротовую полость и поступает в пищевод.
Дыхательная система. Дыхательная система круглоротых уникальна: в жаберных щелях развиваются жаберные мешки энтодермального происхождения. Внутренняя поверхность жаберных мешков образует многочисленные складки слизистой оболочки с густой сетью капилляров. У миноги имеется 7 пар жаберных мешков, каждый из которых открывается наружу самостоятельным наружным отверстием.
Внутреннее отверстие каждого жаберного мешка соединяет его полость с дыхательной трубкой — слепо оканчивающимся производным глотки. Спереди трубка перегорожена клапаном («парусом»), предотвращающим выход воды вперед, в ротовую полость. У плавающей миноги вода поступает через рот в ротовую полость, проходит в дыхательную трубку и через жаберные мешки выбрасывается наружу.
В процессе питания, когда минога присосалась к объекту, парус перекрывает дыхательную трубку. Дыхание осуществляется иным путем: жаберные мешки сжимаются под воздействием мускулатуры, выталкивая воду через наружные отверстия, а затем расширяются, засасывая воду обратно. Таким образом обеспечивается газообмен даже при закрытом рте.
Кровеносная система. Кровеносная система круглоротых включает хорошо развитое сердце, расположенное позади последней пары жаберных мешков. Сердце двухкамерное: состоит из одного предсердия, одного желудочка и венозной пазухи. Венозная кровь по венам поступает в венозную пазуху, затем в предсердие и желудочек.
От желудочка отходит мощный артериальный ствол — брюшная аорта, разветвляющаяся на приносящие жаберные артерии. Окисленная кровь по выносящим жаберным артериям собирается в непарную спинную аорту и разносится по всему телу. Венозная кровь собирается передними и задними кардинальными венами, нижней яремной веной и печеночной веной, впадающими в венозную пазуху.

Рис. 11. Схема кровеносной системы речной миноги (вид с брюшной стороны): 1 — венозный синус; 2 — предсердие; 3 — желудочек; 4 — луковица аорты; 5 — брюшная аорта с отходящими от нее приносящими жаберными артериями; 6 — спинная аорта; 7 — впадающие в спинную аорту выносящие жаберные артерии; 8 — передняя кардинальная вена; 9 — нижняя яремная вена; 10 — хвостовая вена; 11 — задняя кардинальная вена; 12 — подкишечная вена; 13 — воротная система печени; 14 — печеночная вена
Мочеполовая система. Органами выделения служат мезонефрические (туловищные) почки, которые в виде парных лентовидных образований подвешены к дорсальной стенке задней половины полости тела. По нижнему краю почек проходит тонкий канал — мочеточник. Позади почек мочеточники соединяются, образуя непарный мочеполовой синус, открывающийся на вершине мочеполового сосочка.
Половая железа непарная и занимает почти всю свободную часть полости тела. Яичники самок отличаются от семенников самцов по зернистой структуре. Половых протоков нет: половые продукты через разрывы в стенке железы попадают в полость тела, затем через половые поры протекают в мочеполовой синус и выводятся наружу.
Эволюционное значение и адаптации круглоротых. Круглоротые представляют первый класс подтипа Позвоночные и обладают рядом прогрессивных черт строения по сравнению с низшими хордовыми. Дифференцировка переднего отдела нервной трубки в головной мозг с несколькими обособленными отделами обеспечивает более совершенный нервный контроль. Формирование хрящевого черепа и зачатков верхних дуг позвонков защищает жизненно важные органы.
Появление специализированных органов дыхания в виде жаберных мешков с многочисленными складками увеличивает дыхательную поверхность. Формирование центрального органа кровообращения — сердца — повышает скорость движения крови. Возникновение нового типа органов выделения — почек — более эффективно справляется с функцией выделения при возросшем уровне обмена веществ.
Наряду с прогрессивными чертами, круглоротые сохраняют многие примитивные признаки: отсутствие парных конечностей, сохранение хорды в течение всей жизни, простое устройство черепной коробки, отсутствие половых протоков. Специфические черты особенно заметны в строении висцерального черепа и жаберных мешков энтодермального происхождения.
Отсутствие челюстей позволило выделить круглоротых в раздел Agnatha (бесчелюстные) в противоположность разделу Gnathostomata (челюстноротые). В эволюции позвоночных челюстноротые вытеснили бесчелюстных благодаря большим возможностям активизации образа жизни. Современные круглоротые заняли особую экологическую нишу, что позволило им выйти из конкуренции с челюстноротыми.
Экологические особенности миног отразились на их строении: разделение глотки на пищевод и дыхательную трубку, наличие паруса, мощного мускулистого языка и роговых «зубов» связаны с особенностями питания. У миксин наружные жаберные отверстия объединены и отодвинуты назад, что защищает жабры от попадания крови жертвы. Таким образом, в строении современных круглоротых отражается как общая прогрессивная эволюция хордовых, так и адаптация к специфическим условиям существования.
Рекомендуемая литература: 1. Балабай П. П. Морфология и филогенетическое развитие группы бесчелюстных. Киев, 1956.
2. Гуртовой Н. Н. Систематика и анатомия хордовых животных: Краткий курс. М., 2004.
3. Гуртовой Н. Н., Матвеев В. С., Дзержинский Ф. Я. Практическая зоотомия позвоночных. Низшие хордовые, бесчелюстные, рыбы. М., 1976.
4. Дзержинский Ф. Я. Сравнительная анатомия позвоночных животных. М., 1998.
5. Ромер А., Парсонс Т. Анатомия позвоночных: В 2 т. М., 1992.
Сведения об авторах и источниках:
Авторы: Карташев Н. Н., Соколов В. Е., Шилов И. А.
Источник: Практикум по зоологии позвоночных
Данные публикации будут полезны студентам биологических специальностей, изучающих зоологию и сравнительную анатомию, а также всем, кто интересуется эволюционной морфологией и строением примитивных хордовых животных.
Дата добавления: 2026-03-05; просмотров: 44;











