Анатомия костистых рыб: методика вскрытия и особенности внутреннего строения на примере щуки (Esox lucius L.)
Систематическое положение объекта исследования. В систематике животного мира щука обыкновенная (Esox lucius L.) занимает следующее положение: относится к подтипу Позвоночные (Vertebrata), классу Костные рыбы (Osteichthyes), подклассу Лучеперые (Actinopterygii) и обширной группе Костистые рыбы (Teleostei). Костистые рыбы представляют собой наиболее многочисленную и разнообразную группу позвоночных животных, демонстрирующую широкий спектр адаптаций к различным условиям водной среды. Изучение анатомии щуки позволяет понять общие закономерности организации костистых рыб, поскольку она сохраняет многие типичные черты этого таксона, несмотря на наличие специфических хищнических адаптаций. Вскрытие и последующий анализ систем внутренних органов дают фундаментальные знания о морфофункциональных особенностях водных позвоночных, что необходимо для понимания эволюционных процессов и экологических взаимодействий в гидросфере.
Материалы, оборудование и задачи препарирования. Для качественного проведения вскрытия на одного-двух студентов необходим следующий набор инструментов и материалов: свежая или фиксированная особь щуки, анатомическая ванночка, скальпель, пинцет, ножницы, две препаровальные иглы, 10–15 булавок для фиксации препарата, гигроскопическая вата и 1–2 марлевые салфетки. Основная задача практической работы заключается в детальном знакомстве с особенностями внешней морфологии рыбы, последовательном вскрытии и всестороннем рассмотрении топографии и строения основных систем внутренних органов. В ходе выполнения препарирования необходимо выполнить ряд схематических рисунков, отражающих ключевые анатомические структуры: внешний вид щуки, общее расположение внутренних органов, мочеполовую систему самца и самки, а также поперечный разрез жаберного аппарата. Грамотное выполнение вскрытия требует аккуратности и знания последовательности разрезов для сохранения целостности анатомических структур.
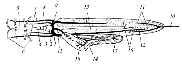
Характеристика внешнего вида и покровов щуки. Форма тела у представителей костистых рыб отличается значительным разнообразием в зависимости от среды обитания и образа жизни. У щуки тело вытянутое, стреловидное и слегка сплющенное с боков (рис. 29), причем четкая граница между головой, туловищем и хвостовым отделом отсутствует, что обеспечивает обтекаемость и стремительность при атаке добычи. По бокам головы располагаются крупные костные жаберные крышки (operculum), задний край которых служит условной границей между головным и туловищным отделами, прикрывая общее жаберное отверстие с каждой стороны. Ротовой аппарат щуки вооружен острыми, загнутыми назад зубами, что является классической адаптацией к хищническому образу жизни, предотвращающей выход захваченной жертвы.

Рис. 29. Внешний вид щуки: 1 — жаберная крышка; 2 — ноздря; 3 — боковая линия; 4 — грудные плавники; 5 — брюшные плавники; 6 — анальное отверстие; 7 — половое и мочевое отверстия; 8— хвостовой плавник; 9 —анальный плавник; 10 — спинной плавник; 11 — ротовое отверстие; 12 — свободный задний конец верхнечелюстной кости
Перед глазами по бокам головы расположены ноздри, имеющие вид ямок, разделенных поперечной перегородкой на два отверстия, при этом они не сообщаются с ротовой полостью, что легко проверяется введением препаровальной иглы. Туловище покрыто костной чешуей, представляющей собой тонкие округлые пластинки, передним краем укрепленные в коже и покрытые снаружи тонким эпидермисом; у щуки свободный край чешуи гладкий, что классифицирует ее как циклоидную, в отличие от ктеноидной чешуи окуня с мелкими шипиками на заднем крае. Обильное выделение слизи многочисленными одноклеточными кожными железами выполняет защитную функцию, снижая трение при движении и затрудняя инфицирование.
Органы чувств и локомоторный аппарат. Вдоль боков туловища отчетливо просматривается боковая линия (linea lateralis) в виде строчки мелких отверстий, прободающих чешую и ведущих в канал с органами чувств, воспринимающими колебания воды (рис. 29, 3). На голове этот сенсорный канал разделяется на несколько ветвей: надглазничную, подглазничную и подъязычно-челюстную, обеспечивая рыбе объемное восприятие гидродинамической обстановки. Локомоторная система представлена парными плавниками: небольшими грудными (pinna pectoralis) и брюшными (pinna ventralis), расположенными соответственно в передней и задней частях туловища (рис. 29, 4, 5). На брюшной стороне каудальнее брюшных плавников находится анальное отверстие, а сразу за ним — мочеполовой сосочек с двумя отдельными отверстиями (мочевым и половым), служащие границей туловищного и хвостового отделов (рис. 29, 6, 7).
Хвостовой отдел несет непарный хвостовой плавник с равными по величине лопастями, что характерно для гомоцеркального типа строения, обеспечивающего эффективное поступательное движение (рис. 29, 8). Анальный плавник расположен впереди нижней лопасти хвостового плавника, а спинной плавник у щуки смещен далеко назад и находится на хвостовом стебле спереди от верхней лопасти, что отличает ее от многих других костистых рыб, у которых один или несколько спинных плавников располагаются на спине (рис. 29, 9, 10). Мышечная система костных рыб, представленная миомерами, разделенными миосептами, в целом сохраняет принципы организации, свойственные хрящевым рыбам (акулам), но имеет свои особенности прикрепления к костному скелету.
Методика вскрытия и общий доступ к внутренним органам. Процесс вскрытия начинается с короткого поперечного разреза брюшной стенки, сделанного ножницами непосредственно впереди анального отверстия. Затем, введя в этот разрез тупую браншу ножниц и прижимая ее к брюшной стенке для предотвращения повреждения внутренних органов, проводят продольный разрез по средней линии брюха до самого перешейка — участка между нижними краями жаберных крышек, перерезая при этом кости плечевого пояса. Далее от начала продольного разреза (у ануса) делают второй разрез вверх, до уровня позвоночника, после чего, приподнимая боковую стенку, ведут разрез вперед вдоль позвоночного столба до жаберной крышки, полностью отделяя боковую стенку тела. На заключительном этапе доступа срезают жаберную крышку и с помощью пинцета, скальпеля и препаровальных игл аккуратно удаляют куски мышц и соединительнотканные пленки, мешающие обзору, особо осторожно действуя в области сердца и брюшной аорты. Кровь удаляют ватными тампонами, после чего приступают к последовательному изучению топографии и строения внутренних органов (рис. 30, 31).

Рис. 30. Схема кровеносной системы костистой рыбы (вид снизу; не показаны выносящие жаберные артерии; их слияние в спинную аорту и ветвление последней): 1 — венозная пазуха; 2 — предсердие; 3 — желудочек; 4 — луковица аорты; 5 — брюшная аорта; 6 — приносящие жаберные артерии; 7 — передние кардинальные вены; 8— нижняя яремная вена; 9 — кювьеров проток; 10— хвостовая вена; 11 — воротные вены почек; 12 — анастомозы между воротной веной правой почки и правой задней кардинальной веной; 13 — задние кардинальные вены; 14 — воротная вена печени; 15 — печеночная вена; 16 — почки; 17 — кишечник; 18 — печень

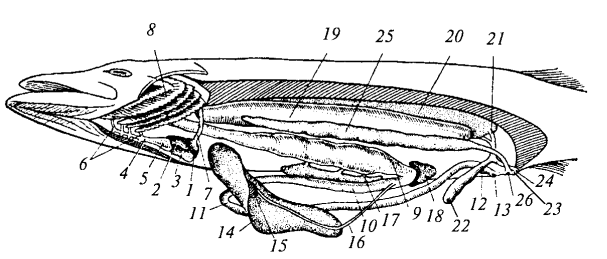
Рис. 31. Общее расположение внутренних органов щуки: 1 — венозный синус; 2 — предсердие; 3 — желудочек сердца; 4 — брюшная аорта; 5 — луковица аорты; 6 — приносящие жаберные артерии; 7 — кювьеров проток; 8— жабра; 9 — желудок; 10 — двенадцатиперстная кишка; 11 — тонкая кишка; 12 — прямая кишка; 13 — анальное отверстие; 14 — печень; 15 — желчный пузырь; 16 — желчный проток; 17— поджелудочная железа; 18— селезенка; 19— плавательный пузырь; 20 — почка; 21 — мочеточник; 22 — мочевой пузырь; 23 — мочеполовой сосочек; 24 — мочевое отверстие; 25 — половая железа; 26 — половое отверстие
Кровеносная система и особенности гемоциркуляции. Сердце у костистых рыб располагается в нижней передней части полости тела, в основании перешейка, и состоит из нескольких отделов, заполненных исключительно венозной кровью. Венозная кровь собирается в тонкостенный венозный синус (sinus venosus), откуда поступает в предсердие (atrium), а затем в более мощный мускулистый желудочек (ventriculus) (рис. 30, 1-3; рис. 31, 1-3). В отличие от хрящевых рыб, у костистых отсутствует артериальный конус, и от желудочка непосредственно отходит брюшная аорта (aorta ventralis), образующая в своем начале расширение — луковицу аорты (bulbus aortae) (рис. 30, 4, 5; рис. 31, 4). От брюшной аорты отходят четыре пары приносящих жаберных артерий (arteria branchialis advehens), несущих венозную кровь к жабрам (рис. 30, 6; рис. 31, 6).
В жаберных лепестках приносящие артерии распадаются на капиллярную сеть, где происходит газообмен с водой, и обогащенная кислородом артериальная кровь собирается в выносящие жаберные артерии. Последние впадают в спинную аорту (aorta dorsalis), которая отдает вперед сонные артерии к головному мозгу и проходит под позвоночником назад, снабжая артериальной кровью все органы и ткани тела. Венозная система включает непарную хвостовую вену, разделяющуюся на воротные вены почек, причем у костистых воротная система правой почки является неполной (рис. 30, 10-12). Из почек кровь по задним кардинальным венам идет вперед и сливается с передними кардинальными венами, образуя парные кювьеровы протоки (ductus Cuvieri), впадающие в венозный синус (рис. 30, 9, 13). От кишечника кровь оттекает по воротной вене печени в печень, формируя воротную систему печени, и через печеночную вену также попадает в венозный синус (рис. 30, 14, 15). Таким образом, у костистых рыб, как и у хрящевых, наблюдается один замкнутый круг кровообращения, и важно различать анатомическое понятие сосуда (артерия — от сердца, вена — к сердцу) от качественного состава крови (артериальная или венозная).
Строение дыхательной и пищеварительной систем. Органами дыхания у костистых рыб служат жабры эктодермального происхождения, расположенные с каждой стороны в виде четырех полных жаберных дуг. В отличие от хрящевых рыб, у костных отсутствуют жаберные перегородки, и два ряда жаберных лепестков прикрепляются непосредственно к костным жаберным дугам, свободно свешиваясь в околожаберную полость, прикрытую жаберной крышкой (рис. 31, 8; рис. 32). На внутренней стороне каждой жаберной дуги располагаются многочисленные жаберные тычинки, выполняющие функцию цедильного аппарата, препятствующего выходу пищи из глотки; у планктоноядных рыб они особенно длинные и густые. Через стенки капилляров в жаберных лепестках происходит газообмен, а приносящие и выносящие жаберные артерии проходят в основании лепестков по жаберным дугам (рис. 32, 4, 5).

Рис. 32. Схема поперечного разреза жабры костистой рыбы: 1 — жаберная дуга; 2 — жаберная тычинка; 3 — жаберные лепестки; 4— приносящая жаберная артерия; 5 — выносящая жаберная артерия
Пищеварительная система щуки начинается ротовой полостью с коническими загнутыми зубами, которая без резких границ переходит в глотку, прободенную жаберными щелями. Короткий пищевод ведет в объемистый желудок (gaster), за которым следует слабо дифференцированный кишечник, подразделяющийся на двенадцатиперстную, тонкую и прямую кишки, открывающуюся наружу анальным отверстием (рис. 31, 9-13). Крупная печень располагается под желудком и содержит желчный пузырь с желчным протоком, впадающим в начальный отдел двенадцатиперстной кишки; вдоль протока лежит поджелудочная железа, а в месте перехода желудка в кишечник находится компактная селезенка (рис. 31, 14-18). Над кишечником в верхней части брюшной полости располагается крупный плавательный пузырь (vesica natatoria), выполняющий гидростатическую функцию и у щуки связанный узким протоком с пищеводом, в отличие от многих других видов, у которых он изолирован (рис. 31, 19).
Мочеполовая система и ее половой диморфизм. Парные половые железы располагаются в верхней части брюшной полости по бокам от плавательного пузыря и демонстрируют четкий половой диморфизм в своем строении. У самок половые железы представлены длинными яичниками (ovarium) с хорошо заметной зернистой структурой, задние вытянутые отделы которых выполняют функцию выводных протоков и открываются непарным половым отверстием позади ануса (рис. 33, 2, 3, 5). У самцов семенники (testis) имеют гладкую, плотную консистенцию, занимают то же топографическое положение, и их задние отделы преобразованы в короткие выносящие протоки, открывающиеся общим половым отверстием. Для детального рассмотрения почек необходимо удалить кишечник и плавательный пузырь, после чего становятся видны лентовидные почки, расположенные на спинной стороне полости тела по бокам от позвоночника (рис. 31, 20; рис. 33, 6).

Рис. 33. Мочеполовая система костистой рыбы: 1 — анальное отверстие; 2 — яичник; 3 — задний отдел яичника (выводной проток); 4 — семенник; 5 — половое отверстие; 6 — почка; 7 — мочеточник; 8 — мочевой пузырь; 9 — мочевое отверстие
Вдоль края почек проходят мочеточники (ureter), которые, выйдя из почек, сливаются в единый непарный мочевой проток (рис. 33, 7). Мочевой пузырь (vesica urinaria) представляет собой вырост передней стенки начальной части этого непарного протока (рис. 31, 22; рис. 33, 8). Непарный мочевой проток открывается наружу самостоятельным мочевым отверстием, расположенным позади полового отверстия, что обеспечивает раздельное выведение половых продуктов и мочи у большинства костистых рыб (рис. 33, 9). Такая организация мочеполовой системы характерна для многих представителей Teleostei и отражает эволюционные адаптации к водному образу жизни и различным стратегиям размножения.
Сведения об авторах и источниках:
Авторы: Карташев Н. Н., Соколов В. Е., Шилов И. А.
Источник: Практикум по зоологии позвоночных
Данные публикации будут полезны студентам биологических специальностей, изучающих зоологию и сравнительную анатомию, а также всем, кто интересуется эволюционной морфологией и строением примитивных хордовых животных.
Дата добавления: 2026-03-05; просмотров: 110;











