Скелет костистой рыбы: анатомия и строение на примере судака (Lucioperca lucioperca)
Систематическое положение объекта. Объектом исследования является скелет судака обыкновенного (Lucioperca lucioperca L.), который относится к подтипу Позвоночные (Vertebrata), классу Костные рыбы (Osteichthyes), подклассу Лучеперые (Actinopterygii) и группе Костистые рыбы (Teleostei). Изучение скелета этого хищника позволяет выявить общие закономерности организации костистых рыб, представляющих наиболее многочисленную и эволюционно продвинутую группу водных позвоночных. В строении скелета судака находят отражение адаптации к активному хищному образу жизни в пресноводных водоемах. Скелет костистых рыб, в отличие от хрящевых, характеризуется высокой степенью окостенения и дифференцировки элементов, что обеспечивает механическую прочность и легкость конструкции.
Материалы, оборудование и задачи исследования. Для изучения анатомии скелета костистой рыбы необходим смонтированный скелет судака на подставке для демонстрации общей топографии, а также разборные скелеты на картонных планшетах для детального рассмотрения отдельных костей. Каждому студенту или паре обучающихся требуются две препаровальные иглы для манипуляций с мелкими костными элементами. Основная задача практической работы заключается в визуальном анализе скелета, выделении его основных отделов: черепа (осевого и висцерального), позвоночного столба, скелета парных конечностей (грудных и брюшных плавников) с их поясами, а также скелета непарных плавников. В ходе работы необходимо изучить детали строения отдельных костей и выполнить ряд схематических рисунков, отражающих ключевые структуры: осевой и висцеральный череп сбоку, плечевой и тазовый пояса с плавниками, туловищный и хвостовой позвонки в разных проекциях, а также строение хвостового плавника.
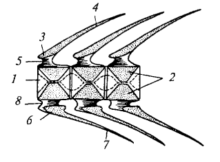
Общая характеристика осевого скелета. Осевой скелет костистых рыб представлен позвоночным столбом, состоящим из многочисленных костных позвонков, которые соединяются друг с другом и с черепом. Позвонки у судака, как и у большинства костистых рыб, являются амфицельными, то есть их тела вогнуты как спереди, так и сзади, что обеспечивает повышенную гибкость позвоночника. Между соседними позвонками и в узком канале, пронизывающем центры их тел, сохраняются остатки хорды, которая приобретает четковидную форму и выполняет роль амортизатора (рис. 34, 1). Позвоночник четко подразделяется на два отдела: туловищный (pars thoracalis) и хвостовой (pars caudalis), позвонки которых имеют характерные морфологические различия, связанные с наличием или отсутствием ребер и строением нижних дуг.

Рис. 34. Схема продольного разреза хвостового отдела позвоночника судака: 1 — редуцированная хорда; 2 — тело позвонка; 3 — верхняя дуга; 4 — верхний остистый отросток; 5 — канал для спинного мозга; 6 — нижняя дуга; 7 — нижний остистый отросток; 8— гемальный канал
Строение туловищных и хвостовых позвонков. Туловищные позвонки (рис. 35, А) имеют округлое тело (corpus vertebrae), от которого в стороны отходят парные боковые отростки (processus lateralis), служащие для причленения длинных ребер (costa), охватывающих полость тела (рис. 35, 1-3). К некоторым ребрам, в свою очередь, прикрепляются тонкие внутримышечные косточки, усиливающие опору для мускулатуры (рис. 35, 8). От верхней части тела позвонка поднимаются верхние дуги (arcus neuralis), которые смыкаются над спинным мозгом, образуя позвоночный канал, и заканчиваются верхними остистыми отростками (processus spinosus), направленными дорсально (рис. 35, 4, 5). Хвостовые позвонки (рис. 35, Б) отличаются наличием замкнутых нижних дуг (arcus haemalis), образованных сместившимися вниз боковыми отростками и замыкающихся нижним остистым отростком (processus spinosus inferior) (рис. 35, 6, 7). Образованный нижними дугами гемальный канал надежно защищает проходящие в нем хвостовые артерию и вену от сдавливания при мощных сокращениях хвостовой мускулатуры во время плавания.

Рис. 35. Позвонки судака: А — туловищный позвонок; Б — хвостовой позвонок: 1 — тело позвонка; 2 — поперечный отросток; 3 — ребро; 4 — верхняя дуга; 5 — верхний остистый отросток; 6 — нижняя дуга; 7 — нижний остистый отросток; 8— мышечная косточка
Архитектоника осевого черепа (нейрокраниума). Череп костистых рыб, как и у хрящевых, подразделяется на осевой череп, или мозговую коробку (neurocranium), и висцеральный череп (splanchnocranium), однако у костистых он практически полностью образован костной тканью, представленной множеством отдельных костей. Осевой череп судака состоит из нескольких отделов, каждый из которых включает несколько костей. Затылочный отдел образован четырьмя костями: основной затылочной (basioccipitale), двумя боковыми затылочными (occipitale laterale) и верхней затылочной (supraoccipitale), которые окружают большое затылочное отверстие (рис. 36, 1-3; рис. 37, 1-4). В слуховом отделе располагаются по пять ушных костей (ossa otica) с каждой стороны, а в глазничном отделе — парные боковые клиновидные кости (laterosphenoideum) и основная клиновидная кость (basisphenoideum) в основании мозговой коробки (рис. 36, 6, 14). В переднем обонятельном отделе находятся парные боковые обонятельные кости (ectoethmoideum) и непарная средняя обонятельная (mesethmoideum) (рис. 36, 7, 8). Все перечисленные кости являются замещающими (первичными) , то есть возникшими путем окостенения хрящевой модели черепа.

Рис. 36. Осевой (мозговой) череп судака: А — сбоку; Б — сверху; В — снизу: 1 — основная затылочная кость; 2 — боковая затылочная кость; 3 — верхняя затылочная кость; 4— ушные кости; 5 — глазница; 6 — боковая клиновидная кость; 7 — боковая обонятельная кость; 8 — средняя обонятельная кость; 9 — лобная кость; 10 — теменная кость; 11 — носовая кость; 12 — парасфеноид; 13 — сошник; 14 — основная клиновидная кость

Рис. 37. Затылочная область черепа судака сзади: 1 — основная затылочная кость; 2 — боковая затылочная кость; 3 — верхняя затылочная кость; 4 — большое затылочное отверстие; 5 — мыщелок для сочленения с позвоночником
Покровные кости осевого черепа. Помимо замещающих костей, в состав осевого черепа входят многочисленные покровные (вторичные) кости, которые формируются непосредственно в соединительнотканном слое кожи и лишь вторично прирастают к его хрящевой основе. Крышу черепа образуют крупные парные лобные кости (frontale), покрывающие большую часть мозговой коробки, и расположенные каудальнее небольшие теменные кости (parietale) (рис. 36, 9, 10). В области обонятельного отдела спереди от лобных костей лежат парные носовые кости (nasale) (рис. 36, 11). Дно черепа прикрыто мощной непарной костью — парасфеноидом (parasphenoideum), а в самом переднем отделе находится сошник (vomer), несущий зубы (рис. 36, 12, 13). Глазницу сбоку окаймляет полукольцо мелких подглазничных косточек (ossa infraorbitalia), передняя из которых называется слезной костью (lacrimale) (рис. 38, 1, 2). Все эти элементы являются покровными и играют важную роль в защите мозга и органов чувств.
Строение висцерального черепа: челюстная дуга. Висцеральный череп представлен серией видоизмененных жаберных дуг: челюстной, подъязычной и пятью жаберными дугами, из которых последняя редуцирована. Челюстная дуга состоит из первичных и вторичных элементов. Первичные челюсти (гомологи нёбно-квадратного и меккелева хрящей акул) у судака включают: в верхней челюсти — нёбную кость (palatinum), квадратную кость (quadratum) и три крыловидные кости (задняя из которых — metapterygoideum — замещающая, а наружная и внутренняя — покровные) (рис. 38, 3-5, 19, 20). В нижней челюсти первичной является только сочленовная кость (articulare), которая образует сустав с квадратной костью верхней челюсти (рис. 38, 6). Вторичные челюсти выполняют основную хватательную функцию: в верхней челюсти это парные предчелюстные (praemaxillare) и верхнечелюстные (maxillare) кости, а в нижней — крупная зубная кость (dentale) и маленькая угловая кость (angulare), прирастающая к сочленовной сзади (рис. 38, 7-10). Зубы расположены на предчелюстных, зубных, нёбных костях и сошнике, что обеспечивает надежное удержание добычи.

Рис. 38. Череп судака сбоку: 1 — окологлазничные кости; 2.— слезная кость; 3— нёбная кость; 4 — квадратная кость; 5 — задняя крыловидная кость; 6 — сочленовная кость; 7 — предчелюстная кость; 8 — верхнечелюстная кость; 9 — зубная кость; 10 — угловая кость; // — подвесок; 12 — симплектикум; 13 — гиоид; 14 — копула гиоида; 15— крышечная кость; 16 — предкрышечная кость; 17— подкрышечная кость; 18— межкрышечная кость; 19 — внутренняя крыловидная кость; 20 — наружная крыловидная кость
Подъязычная дуга, жаберные дуги и жаберная крышка. Подъязычная дуга целиком образована первичными костями. Верхний элемент — подвесок (hyomandibulare) — причленяется к слуховому отделу черепа и через маленькую косточку симплектикум (symplecticum) соединяется с квадратной костью, обеспечивая гиостилический тип подвешивания челюстей (рис. 38, 11, 12). Нижний отдел дуги представлен крупным гиоидом (hyoideum), состоящим из нескольких окостенений; правый и левый гиоиды соединяются непарной копулой (copula), поддерживающей язык (рис. 38, 13, 14). К гиоиду крепятся тонкие лучи жаберной перепонки. Жаберные дуги состоят из четырех парных подвижно сочлененных косточек, объединенных снизу копулами; пятая (задняя) дуга редуцирована до одного парного отдела. Жаберная крышка — новообразование костистых рыб — включает четыре покровные кости: крышку (operculum), предкрышку (preoperculum), подкрышку (suboperculum) и межкрышку (interoperculum), которые прикрепляются к подвеску и квадратной кости (рис. 38, 15-18).
Скелет парных конечностей: плечевой пояс и грудной плавник. Плечевой пояс служит опорой для грудных плавников и состоит из первичных (замещающих) и вторичных (покровных) костей. К первичным относятся лопатка (scapula) с характерным круглым отверстием и расположенная под ней коракоид (coracoideum) (рис. 39, 1, 2). Они неподвижно соединены с крупной покровной костью — клейтрумом (cleithrum), верхний конец которого направлен вперед и соединяется с надклейтрумом (supracleithrum) (рис. 39, 3, 4). Надклейтрум, в свою очередь, причленяется к задневисочной кости (posttemporale), которая крепится к осевому черепу, обеспечивая прочную фиксацию всего пояса (рис. 39, 5). Сзади от клейтрума расположена небольшая заднеключичная кость (postcleithrum) (рис. 39, 6). Все эти элементы парные и образуют вторичный плечевой пояс, усиливающий опорную функцию. Скелет свободного грудного плавника включает ряд мелких радиалий (radialia), отходящих от лопатки и коракоида, а основная лопасть плавника поддерживается членистыми кожными лучами — лепидотрихиями (lepidotrichia) (рис. 39, 7, 8). Подвижность плавника повышается за счет прикрепления мышц к расширенным основаниям лучей.
Рис. 39. Плечевой пояс и грудной плавник судака: 1 — лопатка; 2— коракоид; 3 — клейтрум; 4 — надклейтрум; 5 — задневисочная кость; б — заднеключичная кость; 7 — радиалии; 8 — костные кожные лучи
Тазовый пояс и брюшной плавник. Тазовый пояс представлен парными плоскими треугольными костями, которые плотно смыкаются друг с другом и лежат в толще брюшной мускулатуры, не имея прямой связи с осевым скелетом (рис. 40, 1). К заднебоковым сторонам этого пояса причленяются брюшные плавники. В скелете брюшных плавников у большинства костистых рыб произошла полная редукция базальных элементов и радиалий: лопасть плавника поддерживается только кожными костными лучами — лепидотрихиями (lepidotrichia), расширенные основания которых непосредственно сочленяются с тазовыми костями (рис. 40, 2). Такое упрощение скелета связано с ограниченной локомоторной функцией брюшных плавников, которые выполняют преимущественно роль стабилизаторов и рулей глубины, не требуя сложной внутренней опоры.

Рис. 40. Тазовый пояс и брюшной плавник судака: 1 — тазовые кости; 2 — кожные костные лучи
Скелет непарных плавников. Непарные плавники — спинные, анальный и хвостовой — имеют скелет, состоящий из внутренних элементов (птеригиофор), скрытых в мускулатуре и гомологичных радиалиям, и наружных плавниковых лучей — лепидотрихий. Строение хвостового плавника у судака, как и у большинства костистых рыб, характеризуется внешней симметрией, но внутренней асимметрией скелета, что определяется как гомоцеркальный тип. Позвоночный столб заканчивается заостренным шипом — уростилем (urostyl), резко отклоненным вверх от продольной оси тела (рис. 41, 1). Позади и ниже уростиля веером располагаются плоские треугольные косточки — гипуралии (hypuralia), которые являются производными нижних дуг редуцированных задних позвонков и служат основной опорой для лучей хвостового плавника (рис. 41, 2). Наружный скелет образован многочисленными кожными лучами — лепидотрихиями, формирующими лопасти плавника (рис. 41, 3).

Рис. 41. Хвостовой плавник судака: 1 — конец позвоночного столба — уростиль; 2 — гипуралии; 3 — костные кожные лучи — лепидотрихии
Эволюционное значение костного скелета. Развитие костного скелета у костных рыб является ключевым эволюционным приобретением, обеспечившим им доминирование в водной среде. Образование костной ткани идет двумя путями: замещением хряща (первичные, или замещающие, кости) и формированием непосредственно в коже (вторичные, или покровные, кости). Первичные кости принимают на себя функции хрящевого скелета, обеспечивая прочность и подвижность сочленений. Вторичные кости, не связанные исходными функциями, открывают возможности для морфологических адаптаций к разнообразным условиям среды. Примером служат вторичные челюсти, принимающие на себя хватательную функцию и варьирующие в зависимости от типа питания, а также образование жаберной крышки, интенсифицирующей дыхание. Вторичный плечевой пояс, соединяясь с черепом через задневисочную кость, усиливает опору для грудных плавников. В эволюции покровные кости возникали раньше, добавляясь к хрящевому скелету (как у осетровых), а позднее произошло окостенение хряща и погружение покровных костей под кожу с соединением их с замещающими элементами.
Адаптивные особенности внутреннего строения костистых рыб. Наряду с костным скелетом, у костистых рыб сформировался ряд прогрессивных черт внутреннего строения. Важнейшим гидростатическим органом является плавательный пузырь, позволяющий рыбам удерживаться на любой глубине без активных движений, в отличие от хрящевых рыб, которые тонут при остановке. Плавательный пузырь также может выполнять резонаторную, дыхательную функции и служить резервуаром кислорода. В пищеварительной системе отсутствие спирального клапана, характерного для хрящевых рыб, компенсируется увеличением относительной длины кишечника и развитием у многих видов пилорических придатков, что увеличивает всасывающую поверхность и повышает эффективность пищеварения. Мочеполовая система костистых рыб имеет свои особенности: при сохранении мезонефрических почек и мочеточников (вольфовых каналов) у них появляется мочевой пузырь, а половые протоки формируются заново, не будучи гомологичными вольфовым или мюллеровым каналам, что связано с необходимостью выведения большого количества половых продуктов, так как плодовитость костистых рыб значительно выше.
Физиологические адаптации и экологическая радиация. Костистые рыбы демонстрируют широкий диапазон физиологических адаптаций, позволивших им освоить практически все водные местообитания. Осморегуляция у них построена на иных принципах, чем у хрящевых: пресноводные формы выделяют большое количество жидкой мочи для удаления избытка воды, поступающей через жабры и кожу, тогда как морские виды пьют морскую воду и выделяют концентрированную мочу, а избыток солей выводят через жабры. Такая гибкость осморегуляторных механизмов позволяет многим видам совершать миграции между морской и пресной водой (проходные рыбы). Дыхательная и сердечно-сосудистая системы костистых рыб обеспечивают более высокую кислородную емкость крови по сравнению с хрящевыми, что позволяет им осваивать водоемы с разным содержанием кислорода. Разнообразие пищевых стратегий — от активного хищничества до фильтрации планктона — отражается в морфологии челюстного аппарата, форме тела, строении плавников и окраске. Эти адаптации обеспечили костистым рыбам (около 20 000 видов) широчайшую адаптивную радиацию и доминирование в современной гидросфере.
Рекомендуемая литература. Для углубленного изучения анатомии и систематики костистых рыб рекомендуется следующая литература:
1. Атлас пресноводных рыб России. Т. 1—2. М., 2002.
2. Гуртовой Н. Я. Систематика и анатомия хордовых животных: Краткий курс. М., 2004.
3. Гуртовой Н. Н., Матвеев Б. С., Дзержинский Ф. Я. Практическая зоотомия позвоночных. Низшие хордовые, бесчелюстные, рыбы. М., 1976.
4. Дзержинский Ф. Я. Сравнительная анатомия позвоночных животных. М., 1998.
5. Жизнь животных: В 7 т. Т. 4. Рыбы. М., 1983.
6. Никольский Г. В. Частная ихтиология. М., 1971.
7. Никольский Г. В. Экология рыб. М., 1974.
8. Ромер А., Парсонс Т. Анатомия позвоночных: В 2 т. М., 1992.
9. Строганов Н. С. Экологическая физиология рыб. М., 1962.
10. Суворов Е. К. Основы ихтиологии. М., 1948.
Сведения об авторах и источниках:
Авторы: Карташев Н. Н., Соколов В. Е., Шилов И. А.
Источник: Практикум по зоологии позвоночных
Данные публикации будут полезны студентам биологических специальностей, изучающих зоологию и сравнительную анатомию, а также всем, кто интересуется эволюционной морфологией и строением примитивных хордовых животных.
Дата добавления: 2026-03-05; просмотров: 107;











