Установка автосцепного устройства АУ-5 на локомотивы
С введением автосцепки переоборудование локомотивов и вагонов идет по двум направлениям: с одной стороны, ЦНИИМЭ разработаны чертежи для установки автосцепки на выпускаемый промышленностью тяговый и подвижной состав или намечаемый к серийному выпуску, с другой стороны, разрабатываются чертежи для установки автосцепок на подвижной состав, эксплуатирующийся на лесовозных узкоколейных железных дорогах.
Ввиду большой разнотипности локомотивов и вагонов, эксплуатирующихся на лесовозных узкоколейных железных дорогах, не представляется возможным дать описание установки автосцепки на все серии локомотивов и вагонов.
В настоящей работе рассмотрены только наиболее характерные способы установки автосцепок на локомотивы и вагоны. Принципиально установка автосцепного устройства АУ-5 на другие серии локомотивов и вагонов ничем не отличается от рассмотренных.
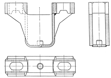
Установка автосцепного устройства на тепловоз ТУ-4. Общий вид установки автосцепки АУ-5 на тепловоз ТУ-4 показан на рис. 23.

Рис. 23. Установка автосцепки АУ-5 на тепловоз ТУ-4: 1 – головка автосцепки; 2 – цепь расцепного рычага; 3 – расцепной рычаг; 4 – центрирующая балочка; 5 – опорная скоба; 6 – опорный кронштейн; 7 – поддерживающая планка; 8 – маятниковая подвеска; 9 – концевой кронштейн; 10 – тяговый хомут; 11 – пружина центрирующей балочки; 12 – ограничитель; 13 – клин тягового хомута
Для установки головки автосцепки на тепловоз ТУ-4 хвостовик сделан укороченным (485 мм).
Для установки автосцепки в середине переднего вертикального листа рамы тепловоза сделан прямоугольный вырез. В вырез вставлена розетка (рис. 24) и приварена к переднему листу рамы тепловоза. В прямоугольное отверстие в розетке проходит хвостовик автосцепки. Верхняя часть розетки представляет собой выступающую вперед в виде консоли площадку с ребрами жесткости. В площадке сделаны два отверстия диаметром 28 мм для установки двух маятниковых подвесок, на которые навешивается центрирующая балочка.

Рис. 24. Розетка
Центрирующая балочка (рис. 25) сделана сварной. В средней части находится проем для размещения хвостовика автосцепки, а внизу карман, для пружины вертикальной центровки головки автосцепки. В нижней части кармана расположен цилиндрический упор пружины. По бокам центрирующей балочки сделаны два продолговатых отверстия и опоры для навешивания на маятниковые подвески.

Рис. 25. Центрирующая балочка
Маятниковые подвески представляют собой стальные стержни с головкой на одном конце и нарезкой для гаек на другом. Для увеличения возвращающего действия центрирующего прибора опорные поверхности головок маятниковых подвесок сделаны не цилиндрическими, а плоскими. Поверхности опор для маятниковых подвесок в корпусе розетки и у центрирующей балочки плоские.
Навешенная на маятниковые подвески центрирующая балочка опирается на специальные опорные втулки, надетые на маятниковые подвески. Опорные втулки на маятниковых подвесках удерживаются гайками. Гайки должны быть зашплинтованы.
Такая система подвески центрирующей балочки дает возможность регулировать положение головки автосцепки по высоте.
На пружину вертикальной центровки головки автосцепки ставится опорная скоба с цилиндрическим упором. Скоба служит опорой для хвостовика автосцепки. Для того чтобы головка автосцепки могла свободно смещаться в вертикальной плоскости при прохождении тепловоза по вертикальным переломам продольного профиля пути, опорная скоба в кармане центрирующей балочки должна перемещаться свободно, без всяких заеданий.
К центрирующей балочке приварена ограничительная планка, благодаря которой центрирующая балочка не может перемещаться вместе с корпусом автосцепки по продольной оси тепловоза, а следовательно, и изгибать маятниковые подвески.
При установке автосцепки АУ-5 на тепловоз ТУ-4 применен расцепной привод рычажного типа, как и при установке на вагоны-сцепы ЦНИИМЭ-АВЗ.
Расцепной привод (см. рис. 23) состоит из расцепного рычага 3 с ограничителем продольного перемещения, концевого кронштейна 9 с опорной полочкой, опорного кронштейна 6 и цепи расцепного рычага, соединяющей расцепной рычаг с противовесом валика подъемника.
Цепь расцепного привода так же, как и при установке автосцепки на вагоны, состоит из мелких звеньев. Крайнее звено соединено с противовесом валика подъемника и заварено. Противоположный конец цепи соединен с регулировочным болтом, пропущенным через отверстие в коротком плече расцепного рычага.
Назначение, принцип действия и регулировка расцепного привода такие же, как и при установке автосцепки на вагоны- сцепы ЦНИИМЭ-АВЗ.
Поглощающий аппарат, упорные кронштейны и клин тягового хомута для установки на тепловоз ТУ-4 те же, что и при установке автосцепки на вагоны-сцепы ЦНИИМЭ-АВЗ.
Установка автосцепки АУ-5 на тепловозы ТУ-6 и ТУ-5 в основном производится так же, как на тепловоз ТУ-4.
Сведения об авторе и источнике:
Автор: В. П. Трусов, Н. И. Гедз, С. А. Абрамов
Источник: Автосцепка для подвижного состава узкоколейных железных дорог
Дата добавления: 2025-01-23; просмотров: 370;











