Система смазки мотора. Нагнетающие масляные помпы
Трение, возникающее в механизмах работающего мотора, вызывает потерю мощности мотора, а также нагрев и износ его деталей.
Смазка, заполняя зазоры, образует масляную подушку, которая устраняет непосредственный сухой контакт трущихся поверхностей и уменьшает трение, нагрев и износ деталей. Кроме того, масло, циркулируя между трущимися поверхностями, отводит часть тепла, выделившегося вследствие трения, а также уносит с собою мельчайшие частицы сработанного материала.
Подача смазки ко всем трущимся деталям и циркуляция масла в моторе обеспечивается организованной системой смазки (фиг. 69 и 70). В систему смазки входят: 1) две нагнетающие масляные помпы, 2) три откачивающие масляные помпы, 3) трубопроводы и каналы.

Фиг. 69. Схема смазки мотора

Фиг. 70. Схема смазки мотора
Две нагнетающие масляные помпы и две откачивающие размещены в нижней задней части мотора и в совокупности представляют один узел. В этом узле масляных помп нагнетающие помпы расположены в непосредственной близости к валику привода помп, а откачивающие — с внешних сторон нагнетающих помп в одной с ними плоскости. Третья откачивающая помпа смонтирована на фланце, расположенном в передней части верхнего картера.
Для поддержания необходимого давления масла с подъемом на высоту на самолетах с мотором ВК-107А применяется наддув масляных баков на избыточное давление 0,4 кг/см2.
Наддув бака создается откачивающими масляными помпами мотора, которые имеют значительно большую производительность, чем нагнетающие, и откачивают из мотора масло с воздухом и газами, имеющимися в полости картера, подавая эту смесь в бак в виде воздушно-масляной эмульсии.
Для поддержания постоянного значения давления наддува в баке последний имеет редукционный клапан, оттарированный на избыточное давление 0,4 кг/см2. Избыточные газы из бака отводятся в суфлерный бачок мотора.
Моторы с № 437—516 и выше завод выпускает с дополнительной нагнетающей 'масляной помпой, не требующей наддува бака.
Дополнительная помпа шестеренчатая, включена в масляную магистраль последовательно и крепится с правой стороны мотора к при воду масляных помп вместо крышки 23 (см. фиг. 34 и 35). Описание дополнительной масляной помпы смотрите далее.
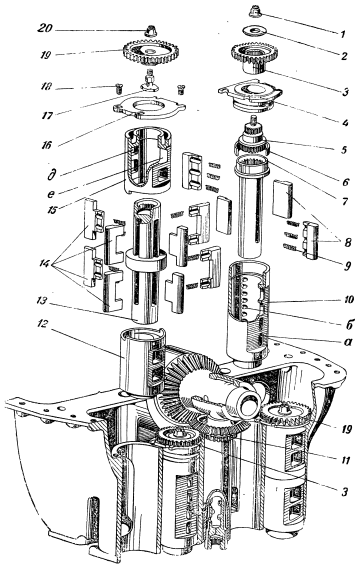
Нагнетающие масляные помпы. Нагнетающие масляные помпы (фиг. 71 и 72) представляют собою насосы коловратного типа и работают параллельно.


Фиг. 71. Масляные помпы

Фиг. 72. Детали масляных помп
Каждая нагнетающая помпа состоит из корпуса 10, валика 7, пластин 8 с пружинами 9, валика привода 5, шестерни 3, подшипника 4, шайбы 2 и гайки 1.
Чугунные корпусы плотно вставлены в колодцы в картере мотора и укреплены подшипниками 4, которые зафиксированы относительно картера в определенном положении винтами 18. Внутренние цилиндрические полости корпусов, эксцентрично расточенные в средней части, имеют по всей длине два ряда отверстий. Один ряд отверстий б соединяет полость корпуса с нагнетающей магистралью мотора, второй ряд а — с магистралью, подводящей масло из бака.
В корпусе размещен валик 7 с пазом для двух пар пластин. Пластины имеют в пазе валика свободную посадку и при вращении валика могут перемещаться перпендикулярно его оси. Пластины с внутренней стороны имеют гнезда, в которых помещены пружины, прижимающие пластины к стенкам корпуса помпы. Для уменьшения пульсирования потока масла в общей магистрали пластины одной нагнетающей помпы при сборке мотора устанавливаются перпендикулярно пластинам другой помпы.
Для устранения заедания валика при вращении его в корпусе в верхней части валика имеется плавающая втулка 6. Валик в верхней части имеет внутренние шлицы для соединения с нижними шлицами валика привода помпы.
Со шлицами верхнего конца валика привода соединена цилиндрическая шестерня 3, вращающаяся в алюминиевом подшипнике, размещенном в картере мотора и закрепленном винтами. Шестерня укреплена на валике привода гайкой 1, законтренной шплинтом.
Шестерни привода обеих нагнетающих помп находятся в зацеплении с шестерней 11 привода всего узла помп. Направление вращения нагнетающих помп правое, а откачивающих — левое (если смотреть на помпы сверху).
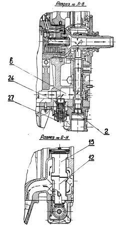
Для автоматического поддержания постоянства давления масла в нагнетающей масляной магистрали, независимо от перемены режимов работы мотора, нагнетающие масляные помпы снабжены редукционным клапаном 24.
Редукционный клапан расположен в нижней части картера на выходе масла из нагнетающей полости, общей для обеих нагнетающих помп. Редукционный клапан сообщается с одной стороны с приемной предклапанной полостью в повышенного давления, а с другой — с по лестью г пониженного давления нагнетающих масляных помп.
Редукционный клапан (фиг. 73) состоит из стального корпуса 22, поршенька 24, пружины 25, регулировочной пробки 26, замка 23 и прокладки 21.

Фиг. 73. Редукционный клапан
Регулирование редукционного клапана на требуемое давление в нагнетающей магистрали производится натяжением пружины клапана регулировочной пробкой. В нужном положении регулировочная пробка застопорена кольцевым замком. Редукционный клапан закрыт колпачком 27, ввинченным в корпус приводов. Для герметичности под буртик колпачка проложена прокладка.
Редукционный клапан основных нагнетающих помп регулируется на начало травления масла при давлении 3 кг/см2; редукционный клапан дополнительной нагнетающей помпы — при давлении 0,5 кг/см2.
Дата добавления: 2025-01-15; просмотров: 313;











