Кабина машиниста локомотива: устройство, требования и особенности компоновки
Кабина машиниста представляет собой специализированное помещение, предназначенное для размещения локомотивной бригады и комплекса механизмов управления локомотивом. Основные технические требования к кабине машиниста регламентированы ГОСТ 12.2.056, согласно которому кабина должна быть рассчитана на одновременное присутствие трех лиц: машиниста, его помощника и машиниста-инструктора. В поперечном направлении кабина должна максимально плотно использовать строительное очертание подвижного состава по ГОСТ 9238, что позволяет оптимизировать габариты локомотива в целом.
Фактическая высота кабины современных локомотивов по продольной оси составляет 2200 мм, а у боковой стенки — 2050 мм, что обеспечивает комфортное перемещение персонала. Важным эргономическим требованием является совпадение проема бокового открывающегося окна с серединой кресла машиниста, установленного в среднее продольное положение. Нижняя кромка этого окна должна располагаться от уровня пола на высоте 1000 ±50 мм, а ширина задвижного окна в открытом состоянии должна составлять не менее 520 мм для обеспечения аварийной вентиляции и эвакуации.
Стандартом также регламентированы расположение приборов освещения и органов управления, степень защищенности локомотивной бригады от шума и вибрации, допустимая неравномерность температуры воздуха по различным зонам кабины, кратность сменяемости воздуха и другие важнейшие показатели микроклимата. Нормируемые характеристики кабин обеспечиваются комплексом конструктивных и технологических мероприятий, включающих применение современных изоляционных и отделочных материалов.
Конструктивные особенности и материалы отделки кабины. Металлические поверхности стен, пола и потолка кабины после предварительной огрунтовки покрывают шумопоглощающей и антикоррозионной мастикой БПМ-1, которая обеспечивает защиту от коррозии и снижение уровня структурного шума. Для теплоизоляции применяют плиты ПСБ-С-35-50 по ГОСТ 15588, которые затем закрывают фанерной плитой толщиной 19 мм, создавая надежный теплозащитный контур. Снаружи на фанерную основу укладывают глянцевый бумажно-слоистый декоративный пластик марки А, придающий интерьеру современный эстетичный вид.
Все стыки пластиковых панелей и угловые соединения тщательно закрывают специальными раскладками из алюминиевых профилей, что обеспечивает герметичность и аккуратный внешний вид. Пол кабины традиционно покрывают линолеумом светлых пастельных тонов, который не только создает благоприятную визуальную среду, но и облегчает поддержание чистоты в кабине. Такая многослойная конструкция позволяет эффективно решать задачи тепло- и шумоизоляции.
Лобовые окна кабины локомотива оснащаются стеклами повышенной прочности, представляющими собой многослойный пакет из трех прозрачных стекол толщиной по 5 мм каждое, соединенных между собой поливинилбутиловой пленкой. Светопропускание такого пакета должно составлять не менее 80 %, что гарантирует хорошую видимость в любых погодных условиях. При испытаниях ударом стального шара массой 0,8 кг с высоты 7 метров стекло не должно иметь сквозного пробоя, а масса отделившихся осколков не должна превышать 90 граммов.
Конструкция кабины и ее компоновка существенно зависят от рода службы локомотива. На магистральных локомотивах, предназначенных для работы на протяженных участках, устанавливают две кабины: у односекционных локомотивов кабины располагают по обоим концам секции, а у двухсекционных — по одной на каждую секцию. Это обеспечивает наличие кабины в передней части локомотива при движении в любом направлении без необходимости разворота.
Маневровые локомотивы традиционно имеют одну кабину, что позволяет увеличить скорость выполнения маневровых работ за счет улучшения обзорности. Для обеспечения хорошего обзора в обоих направлениях движения кабины маневровых локомотивов стремятся располагать как можно ближе к поперечной оси симметрии, что минимизирует "мертвые" зоны при движении вперед и назад.
Кабина машиниста тепловозов: примеры конструктивных решений. Кабина машиниста тепловоза 2ТЭ10Л на лобовой и боковых стенках имеет окна, выполненные из безосколочного стекла, что обеспечивает безопасность при возможных повреждениях. На передние смотровые стекла снаружи устанавливают стеклоочистители для очистки от осадков, а изнутри предусмотрены теневые щитки, защищающие глаза бригады от ослепления солнечными лучами. Боковые окна выполнены задвижными и снаружи оснащены зеркалами заднего вида и поворотными предохранительными щитками из безосколочного стекла.
Для предотвращения замерзания и запотевания стекол в холодное время года предусмотрен обогрев окон, который может быть выполнен как электрическим, так и воздушным способом. В задней стенке кабины имеется дверь, ведущая в дизельное помещение, с двойным остеклением, обеспечивающим дополнительную звукоизоляцию. Для снижения уровня шума в кабине применена специальная многослойная шумоизоляция.

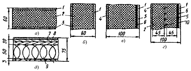
Рис. 2.1.6. Схема шумоизоляции кабины тепловоза 2ТЭ10Л: а - крыши; б - передней и боковых стенок; в, г - задней стенки; д - пола; 1 - металлическая обшивка кабины; 2, 5 - стеклоплита; 3 - перфорированный алюминиевый лист; 4 - картон каркасный; 6 - виброгасящая мастика; 7 - линолеум; 8 - березовая фанера толщиной 20 мм; 9 - минеральная вата; 10 - ольховая фанера толщиной 3 мм
Внутренние стенки кабины облицованы перфорированными алюминиевыми листами толщиной 2 мм с коэффициентом перфорации 0,28, что обеспечивает дополнительное звукопоглощение. На крыше кабины расположены два дефлектора, предназначенных для обеспечения эффективной вытяжной вентиляции в летнее время года без использования вентиляторов. Для снижения уровня вибрации и шума кабину устанавливают на главной раме через десять амортизаторов, а по всему периметру отделяют от проставки резиновыми прокладками.
На нескольких тепловозах серии 2ТЭ10Л были применены кабины из стеклопластика, что позволило снизить массу кабины на 760 кг и дополнительно уменьшить уровень шума благодаря высоким демпфирующим свойствам композитного материала. Это инновационное решение показало перспективность использования неметаллических материалов в конструкции кабин.
Кабины тепловозов ТЭМ1 и ТЭМ2 имеют два выхода — на переднюю и заднюю смотровые площадки, что характерно для маневровых локомотивов капотного типа. Входные двери выполнены из металлического листа, усиленного гнутым профилем, с оконными проемами для дополнительного обзора. В нижней части двери под окном для теплоизоляции устанавливают пакеты из мипоры — легкого пористого материала.
Обшивку стен выполняют из древесно-волокнистой плиты, а сами стены изолированы пакетами изоляции из мипоры. Для снижения уровня шума потолок и верхние торцовые части покрыты матами из капронового волокна и обшиты перфорированными алюминиевыми листами, аналогично более крупным магистральным тепловозам. Такая конструкция обеспечивает комфортные условия работы при интенсивных маневровых операциях.
Настил пола выполнен в виде отдельных щитов, состоящих из фанерной плиты толщиной 25 мм, изолирующего слоя толщиной 16 мм и обшивочного листа из твердой древесно-волокнистой плиты. По контуру щитов в местах их установки на металлоконструкции наклеена губчатая резина толщиной 8 мм, обеспечивающая виброизоляцию, а сверху щиты закрыты линолеумом. В настиле пола предусмотрены специальные люки для доступа к соединениям трубопроводов пневматической системы.
Кабина машиниста тепловозов ТЭМ1 и ТЭМ2 отличается большой площадью одинарного остекления. Стекла изготовлены из сталинита (закаленного стекла) толщиной 5 мм и уплотнены по контуру профильной резиной, обеспечивающей герметичность. Средние боковые окна выполнены раздвижными для возможности вентиляции и аварийного выхода. Кабину приваривают к раме локомотива, а для снижения уровня внешнего шума каркас изнутри покрыт слоем противошумной мастики толщиной 5–6 мм.
Кабина машиниста электровозов и современные тенденции. Кабина машиниста электровозов традиционно рассчитана на правостороннее движение, в связи с чем рабочее место машиниста находится с правой стороны кабины, а место помощника — с левой. Такая компоновка исторически сложилась на отечественных железных дорогах и соответствует системе сигнализации и правилам технической эксплуатации. Вход в кабину осуществляется из кузова, а вход в сам кузов — через двери в его боковых отсеках, что позволяет лучше изолировать кабину от внешней среды.
Такое расположение входных дверей повышает герметичность кабины, что особенно важно для электровозов, эксплуатирующихся в регионах с низкими температурами и сильными ветрами. Отсутствие прямого выхода наружу уменьшает теплопотери и предотвращает образование сквозняков, создавая более комфортные условия для локомотивной бригады.
Кабина электровоза ВЛ85 наиболее полно соответствует требованиям ГОСТ 12.2.056, поэтому она принята в качестве базовой модели для электровозов последующих выпусков. Планировка кабины и ее геометрические размеры рассчитаны на работу в ней машиниста и его помощника, а также пребывание машиниста-инструктора. Ширина кабины обеспечивает максимально полное использование поперечного строительного очертания электровоза, высота превышает 2000 мм.
Длина кабины по сравнению с аналогичным размером кабин электровозов ВЛ60 и ВЛ80 всех модификаций увеличена на 25 %, что значительно повысило комфортность рабочего пространства. Расстояние от задней стенки кабины до задней кромки пульта управления, обращенной к машинисту, составляет 1100 мм. Учитывая, что в пульте управления электровоза ВЛ85 предусмотрена специальная ниша с площадкой для ног при управлении стоя, этот размер полностью соответствует требованиям ГОСТ 12.2.056.
Общая компоновка оборудования в кабине определяется в первую очередь конструкцией пульта управления. Если на электровозах ВЛ60, ВЛ80, ВЛ10 и ВЛ11 всех модификаций применены отдельные пульты для машиниста и его помощника, то на электровозе ВЛ85 выполнен один общий пульт, аналогичный пультам ранее выпускавшихся электровозов ВЛ8 и ВЛ23, а также ЕТ42 и Sri. Применение общего пульта существенно улучшило эргономику и общую компоновку оборудования.
На ранее выпускавшихся электровозах переменного тока часть оборудования размещалась на задней стенке кабины, включая автоматические выключатели цепей управления и пульт управления радиостанции. На электровозах постоянного тока дополнительно устанавливался громоздкий контроллер машиниста в виде отдельной тумбы, занимавшей полезное пространство. На электровозах ВЛ85 и ВЛ15 все оборудование управления размещается непосредственно на пульте, что значительно повысило удобство работы.
Под ногами машиниста и помощника в специальных нишах находятся электрические печи мощностью 1 кВт каждая, обеспечивающие обогрев ног в холодное время года. Такие же печи размещены на боковой стенке кабины, и нагретый воздух от них создает тепловую завесу между боковым окном и машинистом (помощником), предотвращая образование холодных сквозняков и запотевание стекол. Комплекс этих решений обеспечивает комфортный микроклимат в кабине независимо от внешних погодных условий.
Сведения об авторах и источниках:
Авторы: Анисимов П.С., Винокуров В.А., Воробьев В. И., и др.
Источник: Подвижной состав железных дорог
Данные публикации будут полезны студентам железнодорожных специальностей (эксплуатация железных дорог, подвижной состав), начинающим специалистам в области локомотивостроения и эксплуатации тягового подвижного состава, а также всем, кто интересуется устройством, классификацией и современными тенденциями развития железнодорожной техники.
Дата добавления: 2026-03-05; просмотров: 60;











