Стендовые и поездные испытания локомотивов: обеспечение безопасности и надежности узлов
Реализация требований, заложенных в технические условия к локомотивам и их отдельным узлам по обеспечению функциональных показателей, надежности механического, силового, вспомогательного и электрооборудования, а также экономичности, обеспечивается не только проведением расчетно-теоретических исследований на стадии проектирования с использованием современной вычислительной техники, но и обязательным выполнением экспериментальных исследований. В процессе создания конструкций узлов локомотивов на этапе выбора основных параметров, отработки и подтверждения соответствия требованиям технических условий проводятся исследовательские стендовые и поездные испытания. После сборки опытных локомотивов, перед предъявлением на приемочные испытания, организуются предварительные (заводские) испытания.
Все виды испытаний должны проводиться на аттестованных стендах с применением аттестованных методик и аппаратуры для автоматической регистрации и обработки опытных данных. Особое внимание уделяется испытаниям узлов, непосредственно влияющих на безопасность движения. Узлы экипажных частей локомотивов в эксплуатации подвергаются преимущественно циклическим нагрузкам, поэтому пределы выносливости определяют по результатам усталостных испытаний натурных образцов.
Испытания рамных конструкций, колесных пар и пружин. Испытания на усталость рамных конструкций, включая рамы тележек и главные рамы в сборе, имеющие размеры до 20x4x4 метра, проводятся на крупногабаритном стенде с гидравлическим силовозбуждением. Воздействие на испытуемую конструкцию создается десятью односторонними гидроцилиндрами вертикального нагружения усилием до 3000 кН и двусторонними гидроцилиндрами горизонтального нагружения с силой сжатия и растяжения до 150 кН при частоте нагружения до 10 Гц.

Рис. 2.1.8. Схема стенда для испытаний на усталость рамных конструкций: 1 - компьютерный пульт управления; 2 - ось; 3 - поперечная балка; 4 - стойка; 5 - рабочая траверса; 6 - гидроцилиндр вертикального нагружения; 7 - гидроцилиндр горизонтального нагружения; 8 - несущая рама; 9 - опорные пружины; 10 - насосная установка
Испытания рам и кузовов подвижного состава под действием продольных сил сжатия и растяжения через автосцепки и боковые буфера осуществляются на специализированном стенде при максимальной силе внецентренного приложения нагрузки 2500 кН. Предельные размеры испытуемых объектов составляют: длина 25 метров, высота 5 метров, ширина 4 метра, что позволяет проводить испытания полноразмерных конструкций.

Рис. 2.1.9. Схема стенда для испытаний главных рам и кузовов: 1 - поперечная подвижная балка; 2 - нажимной стержень; 3 - продольные балки; 4 - испытуемый объект; 5 - гидропресс; 6 - гидродомкраты внецентренного нагружения; 7 - поперечная неподвижная балка; 8 - пульт управления
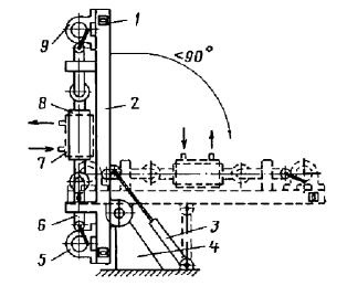
Испытания на усталость колес, колесных центров и осей проводятся на стенде, позволяющем нагружать колесо и ось круговым изгибающим моментом, имитируя движение колесной пары на кривых участках пути, где возникают наибольшие напряжения от действия боковых сил. Стенд позволяет одновременно испытывать четыре объекта с частотой нагружения до 15 Гц. Испытания колеса или оси отличаются способом их установки на опорной плите: колесо устанавливается в штатном положении с опорой по ободу, а ось крепится в "жесткую" ступицу, опирающуюся на плиту как ободом, так и ступицей.

Рис. 2.1.10. Схема стенда для испытаний на усталость колес и осей: 1 - ведомая шестерня; 2 - электродвигатель с ведущей шестерней; 3 - ось; 4 - испытуемое колесо; 5 - зубчатое колесо; 6 - ось стенда; 7 - вибратор; 8 - мерный груз; 9 - испытуемая ось; 10 - жестко установленное колесо; 11 - струбцина; 12 - опорная плита; 13 - опорная пружина; 14 - основание
При испытании пружин осуществляется их нагружение статической и динамической нагрузками, причем динамическая составляющая регулируется частотой вращения вибратора. Специализированная машина позволяет испытывать пружины при одновременном действии продольных и поперечных нагрузок, что максимально приближает условия испытаний к реальным эксплуатационным воздействиям.
Стенды для исследования ходовых частей и трансмиссий. Одним из важнейших параметров, определяющих безопасность движения, является момент сопротивления повороту тележки относительно кузова. Стенд ВНИКТИ (Всероссийский научно-исследовательский и конструкторско-технологический институт подвижного состава) для определения и исследования момента сил, препятствующих повороту тележек под кузовом, представляет собой железобетонный кессон с внутренними размерами 31 600x8780x2488 мм. На его основание через специальный упорный шарикоподшипник со статической грузоподъемностью 273 тонны опирается нижняя платформа с двумя верхними платформами.

Рис. 2.1.11. Схема стенда для определения момента сил, препятствующих повороту тележек относительно кузова
Каждая верхняя платформа опирается на нижнюю через аналогичные упорные шарикоподшипники. Автономная гидравлическая станция обеспечивает регулировку частоты и амплитуды поворота платформ с гидроприводом и встроенными тензосиломерами. Компоновка поворотных платформ позволяет испытывать двух-, трех- и четырехосные тележки при максимальной осевой нагрузке 270 кН и базе испытуемого объекта от 8600 до 12 600 мм, с максимальным углом поворота платформ до 6° в колебательном режиме при частоте 0,2–2 Гц.
К этой же категории относятся стенды для определения характеристик поперечной связи колесных пар с рамой тележки и испытаний боковых опор кузова локомотивов всех конструкций, включая маятниковые подвески. На стендах имитируются колебательные движения относа кузова и поворота тележки с необходимой амплитудой и частотой в диапазоне вертикальных нагрузок 0–180 кН, с максимальной силой в механизмах поворота и относа до 30 кН и амплитудой колебаний 5–45 мм.
Динамико-прочностные испытания натурных колесно-моторных блоков (КМБ) с опорно-рамным подвешиванием тяговых электродвигателей (ТЭД) на вибростойкость проводятся на резонансном стенде с вибромагнитным возбуждением. В качестве нагрузочного используется тяговый электродвигатель того же типа, что и испытуемый, а оси колесных пар испытуемого и нагрузочного КМБ соединяются карданным валом тяжелого типа. При амплитуде относительных поперечных перемещений до 15 мм и рабочей частоте колебаний вибростола до 25 Гц обеспечиваются максимальные вертикальные ускорения до 150 м/с².
Стенды для испытаний комплектующего оборудования. Для статических испытаний колесных пар вертикальными и боковыми силами (до 300 и 150 кН соответственно) применяются специализированные стенды, позволяющие определять напряженное состояние элементов. Усталостные испытания натурных коленчатых валов дизелей проводятся при изгибе и изгибе с кручением. Комплектующее оборудование, включая электрооборудование систем контроля и управления, испытывается на ударную прочность и устойчивость при воздействии механических ударов многократного действия с ударным ускорением до 200 м/с² (20g) и длительностью ударного импульса до 20 миллисекунд.
На вибропрочность и виброустойчивость оборудование испытывается путем воздействия вертикальной и горизонтальной вибрации на стенде с амплитудой виброускорения до 30 м/с² в обоих направлениях и частотой вибрации до 100 Гц. Буксовые подшипники в сборе с корпусом буксы проходят испытания под действием вертикальной нагрузки и боковых сил с определением эпюр нагружения, температурных полей и оценкой эффективности уплотнительных узлов в процессе длительного наката.
Карданные валы испытываются на усталость при одновременном действии статического и динамического вращающих моментов, а также для исследования их напряженного состояния. Ресурсные испытания муфт тяговых приводов проводятся под действием переменного вращающего момента с амплитудами до 8 кН·м при радиальном смещении осей до 40 мм и частоте вращения до 900 мин⁻¹.

Рис. 2.1.12. Схема стенда для испытаний гидродемпферов на ресурс: 1 - счетчик регистрации циклов нагружений демпферов; 2 - рама; 3 - регулировочная тяга; 4 - опора; 5 - высокочастотный привод; 6 - ползун; 7 - система принудительного охлаждения демпфера; 8 - испытуемый демпфер; 9 - низкочастотный привод
Гидравлические гасители колебаний (демпферы) проходят испытания на технический ресурс с определением их характеристик. Колодочные и дисковые тормоза испытываются на инерционных стендах, а тормозные цилиндры со встроенными регуляторами выхода штока проверяются на вибропрочность и функционирование при перемещении штока до 3 мм, частоте вибрации 25 Гц и виброускорении до 30 м/с².

Рис. 2.1.13. Схема инерционных стендов для испытаний колодочных и дисковых тормозов: 1 - токосъемник; 2 - тормозное колесо (диск); 3 - преобразователь вращающего момента; 4 - маховые массы; 5 - колесо аварийного тормоза; 6 - электродвигатель; 7 - преобразователь скорости
Испытания на вибропрочность и виброустойчивость электрооборудования, блоков систем автоматики, микропроцессорных систем регулировки и диагностики производятся на вибрационных электродинамических установках с частотным диапазоном до 3000 Гц, максимальной амплитудой до 26 мм и ускорением свыше 100 м/с². Климатические испытания этих узлов проводятся в климатических камерах при температурах от -70°С до +180°С.
Для испытаний тяговых электроприводов и электроприводов вспомогательных механизмов тепловозов и электровозов с асинхронными двигателями созданы специализированные испытательные станции. Они представляют собой натурный стенд тягового электропривода одной колесной пары, соединенной через редуктор с нагрузочным двигателем. Станция позволяет исследовать электрические, электромеханические и тепловые процессы в тяговом приводе в режимах тяги от контактной сети постоянного тока, от имитационной сети, а также в режимах рекуперативного и электрического торможения.
Поездные ходовые испытания. Поездные (ходовые) испытания проводятся на этапах предварительных (заводских) и приемочных испытаний. По результатам предварительных испытаний завод-изготовитель совместно с научно-исследовательской и проектной организацией оценивает соответствие всех узлов и конструкций локомотива в целом требованиям технического задания. Состав предварительных и приемочных испытаний идентичен и включает комплексную проверку всех систем и агрегатов в реальных условиях эксплуатации.
В ходе поездных испытаний подтверждаются заявленные тягово-энергетические характеристики, проверяется работа тормозных систем, систем управления и безопасности, оцениваются динамические качества и воздействие на путь. Результаты этих испытаний служат основанием для принятия решения о серийном производстве локомотивов и их допуске к эксплуатации на железнодорожных путях общего пользования.
Сведения об авторах и источниках:
Авторы: Анисимов П.С., Винокуров В.А., Воробьев В. И., и др.
Источник: Подвижной состав железных дорог
Данные публикации будут полезны студентам железнодорожных специальностей (эксплуатация железных дорог, подвижной состав), начинающим специалистам в области локомотивостроения и эксплуатации тягового подвижного состава, а также всем, кто интересуется устройством, классификацией и современными тенденциями развития железнодорожной техники.
Дата добавления: 2026-03-05; просмотров: 50;











