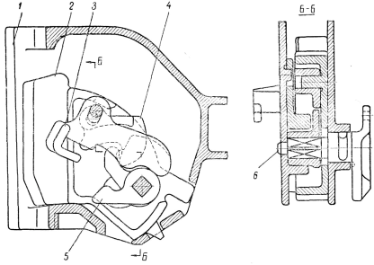
Корпус автосцепки. Основные элементы
Корпус автосцепки состоит из головки и приваренного хвостовика. Корпус головки автосцепки (рис. 8) имеет большой зуб 1, малый зуб 2, крыло со стороны малого зуба 3 и два упора 4 и 5, препятствующих перемещению головок автосцепок в вертикальной плоскости свыше рабочей высоты замка.

Рис. 8. Корпус головки автосцепки: 1 - большой зуб; 2 - малый зуб; 3 - крыло; 4 и 5 - упоры
В большом зубе и в крыле со стороны малого зуба сделаны отверстия для установки валиков стяжки переходного приспособления. В большом зубе расположен также поперечный паз для пропуска звена цепи стяжки переходного приспособления.
Пустотелый хвостовик головки автосцепки (рис. 9) имеет прямоугольное сечение. Продолговатое отверстие на конце хвостовика предназначено для соединения головки автосцепки с тяговым хомутом при помощи клина.

Рис. 9. Хвостовик головки автосцепки АУ-5 для установки на вагон-сцеп ЦНИИМЭ-АВЗ
Торцовая часть хвостовика автосцепки выполнена в виде цилиндрической поверхности для облегчения перемещения авто сцепки в горизонтальной плоскости.
В корпусе головки автосцепки находится карман для размещения в нем запирающего механизма автосцепки.
Если смотреть на головку автосцепки спереди, то в стенке зева видны два окна. Левое окно расположено ближе к малому зубу и предназначено для выхода в зев рабочей части замка, а правое окно — для выхода лапы замкодержателя. На внутренней стенке головки автосцепки со стороны большого зуба находится цилиндрический прилив (шип), на который навешивается зам- кодержатель запирающего механизма.
С боков головки автосцепки, в нижней ее части, имеются отверстия для размещения в них стержня валика подъемника. В нижней части кармана расположены окна, предназначенные для прохода сигнального отростка замка и направляющего зуба замка. Кроме того, в дне кармана автосцепки имеется прорезь, которая служит для выхода мусора, случайно попавшего в корпус автосцепки, и для воздействия на замкодержатель с целью восстановления сцепления ошибочно расцепленных автосцепок. Сбоку автосцепки, со стороны малого зуба, расположен прилив с отверстием для установки запорного болта. Вертикальное отверстие, проходящее по всей высоте внутри малого зуба, сделано для уменьшения веса автосцепки.
Запирающий механизм автосцепки. Запирающий механизм автосцепки АУ-5 (рис. 10) состоит из замка 2, замкодержателя 3, собачки 4, подъемника 5 замка и валика 6 подъемника.

Рис. 10. Запирающий механизм автосцепки: 1 — корпус головки автосцепки; 2 — замок; 3 — замкодержатель; 4 — собачка; 5 — подъемник замка; 6 — валик подъемника
Замок автосцепки. Замок (рис. 11) служит для запирания двух сцепленных автосцепок. Рабочая часть замка 1 у поверхности, обращенной к замкодержателю, имеет уклон для уменьшения силы трения при перемещениях сцепленных автосцепок относительно друг друга во время движения поезда. Нижняя часть этой поверхности имеет скос, предназначенный для облегчения сцепления и расцепления автосцепок в кривых малого радиуса и на участках, имеющих перекосы пути.

Рис. 11. Замок: 1 — рабочая часть; 2—цилиндрический шип; 3 — опорная поверхность; 4 — направляющий зуб; 5 — овальное отверстие; 6 — сигнальный отросток
Для облегчения сцепки двух автосцепок торцовая часть рабочей поверхности замка также сделана с уклоном.
В верхней части замка расположен цилиндрический шип 2, служащий для навешивания на него собачки. В середине опорной поверхности 3 замка расположен направляющий зуб 4.
Замок опирается поверхностью 3 на нижнюю наклонную поверхность кармана автосцепки и перекатывается по нему при сцеплении или расцеплении автосцепок. Направляющий зуб замка 4 препятствует перемещению опоры замка по поверхности кармана.
В середине замка расположено овальное отверстие 5, через которое проходит стержень валика подъемника. За этим отверстием находится сигнальный отросток 6, окрашенный красной краской. Он служит для проверки положения замка в сцепленной автосцепке при наружном осмотре.
В верхней части замка расположен упор, ограничивающий перемещение собачки.
Замкодержатель автосцепки. Замкодержатель (рис. 12) вместе с собачкой предназначен для предохранения замка от саморасцепления при сцепленных автосцепках. Он имеет лапу 1, противовес 2, на котором со стороны, обращенной к собачке, расположен упор 3, ив верхней части овальное отверстие 4. Овальным отверстием замкодержатель навешивается на цилиндрический шип в кармане корпуса автосцепки.

Рис. 12. Замкодержатель: 1 — лапа; 2 — противовес; 3 — упор; 4 — овальное отверстие; 5 — уступ
Упор на противовесе замкодержателя удерживает собачку и замок в нижнем сцепленном положении автосцепки. В нижней части замкодержателя сделан уступ 5, удерживающий замок пальцем подъемника в верхнем расцепленном положении до разведения вагонов.
Собачка. Собачка (рис. 13) служит для удержания замка в нижнем положении при сцепленных автосцепках и для расцепления замков. В верхней части собачки имеется цилиндрическое отверстие 1 для навешивания на цилиндрический шип замка и выступ 2 для упора в замкодержатель в сцепленной автосцепке.

Рис. 13. Собачка: 1 — цилиндрическое отверстие; 2 — выступ для упора; 3 — серповидный выступ
В нижней части собачки сделан серповидный выступ 3 для упора пальца подъемника замка при уводе его внутрь корпуса автосцепки при расцеплении.
Подъемник замка. Подъемник замка (рис. 14) служит для выключения предохранителя от самосцепа и увода замка из зева внутрь корпуса при расцеплении автосцепок. Кроме того, взаимодействуя с замкодержателем, подъемник удерживает замок в верхнем расцепленном положении до разведения вагонов. Он состоит из двух пальцев: один палец предназначен для перемещения собачки и замка, другой для взаимодействия с замкодержателем. Квадратным отверстием подъемник замка надевается на валик подъемника.

Рис. 14. Подъемник замка
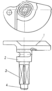
Валик подъемника. Валик подъемника (рис. 15) предназначен для поворота подъемника замка при расцеплении автосцепок и представляет собой стержень переменного сечения с балансиром 1 на конце. Балансир, соединенный цепью с расцепным рычагом, возвращает валик подъемника в начальное положение после разведения расцепленных автосцепок.

Рис. 15. Валик подъемника
Толстая цилиндрическая часть 2 валика подъемника проходит через отверстие в стенке головки автосцепки и через овальное отверстие замка, ограничивая выход замка в зев. Выемка в этой части валика предназначена для прохода болта, запирающего собранный механизм. Средняя часть 3 стержня квадратного сечения располагается в отверстии подъемника замка. Тонкая цилиндрическая часть 4 входит в отверстие в стенке корпуса автосцепки со стороны большого зуба и опирается на нее.
Сведения об авторе и источнике:
Автор: В. П. Трусов, Н. И. Гедз, С. А. Абрамов
Источник: Автосцепка для подвижного состава узкоколейных железных дорог
Дата добавления: 2025-01-23; просмотров: 366;











