Автопилот. Основные схемы регулирования
Любой автопилот работает по одной из следующих схем регулирования.
1. Прямое регулирование — автомат непосредственного действия. Чувствительные элементы таких автоматов выполнялись в виде маятников или свободных гироскопов.
Маятниковые автопилоты не получили распространения так как все они работали с большим запаздыванием и вызывали колебания самолета (рыскание)
Гироскопические автопилоты такого типа также не получили распространения из-за необходимости применения мощных гироскопов.
В современных автопилотах схемы прямого .регулирования не применяются.
2. Непрямое регулирование без обратной связи приводит к незатухающим колебаниям руля и самолета (автоколебания). Схема на самолетах не применяется.
3. Непрямое регулирование с жесткой обратной связью (фиг. 150).

Фиг. 150. Схема непрямого регулирования с жесткой обратной связью: 1 - гироскоп; 2 -тяга, 3 - тяга золотника; 4 - золотник; 5 - рулевая машинка; 6 - шток; 7 - руль самолета; 8 - рычаг обратной связи а, b, с и d — плечи рычагов; ψ — угол отклонения самолета
Автопилот с такой схемой регулирования состоит из свободного гироскопа 1, рамка которого тягами 2 и 3 соединена с золотником 4, управляющим работой поршневой рулевой машинки 5; шток 6 машинки 5 соединен тягой с рулем самолета 7. Рычаг 8 соединяет золотник 4 с верхним кондом штока рулевой машинки (обратная связь). Таким образом, в этой схеме положение золотника зависит как от положения гироскопа, так и от положения руля.
При отклонении от заданного режима золотник смещается, например, вверх; при этом поршень рулевой машинки пойдет вниз, отклоняя руль управления влево. Одновременно шток рулевой машинки опускает золотник. Движение поршня и отклонение руля прекратятся, как только золотник вернется в нейтральное положение.
Автоматы, работающие по этой схеме, не всегда полностью восстанавливают заданный режим работы. Например, в самолете, снабженном продольным автоматом, при изменении центровки, вызванной, например, перемещением пассажира в кабине, нос самолета может опуститься (или подняться).
Автомат будет отклонять руль высоты вверх (или вниз), при этом равновесие самолета восстановится в тот момент, когда момент от руля уравновесит момент от смещения центра тяжести, т. е. в некотором новом положении самолета. Угол, на который самолет отклонился от первоначального положения, называют остаточной неравномерностью регулирования. Для возвращения к первоначальному режиму полета летчику приходится вручную по показаниям прибора вносить поправки.
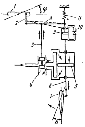
4. Непрямое регулирование с нежесткой обратной связью, называемое иначе изодромным.
В этом случае золотник 4 соединяется со штоком рулевой машинки 5 через демпфер 9, называемый катарактом (фиг. 151), степень демпфирования которого регулируется краном 10. Если кран 10 закрыт, то обратная связь превращается в жесткую. На конце рычага 8 устанавливается фиксирующая пружина 11.

Фиг. 151. Непрямое регулирование с нежесткой обратной связью: 1- гироскоп; 2 - тяга; 3 - тяга золотника; 4 - золотник; 5 – рулевая машинка; 6 - шток машинки; 7 - руль; 8 - рычаг обратной связи; 9 - катаракт; 10 - кран; 11 - пружина; ψ - угол отклонения самолета
Величина обратного воздействия рулевой машинки на золотник зависит от скорости относительного перемещения самолета и руля самолета. При кратковременных возмущениях автопилот работает как автомат с жесткой обратной связью.
При длительных возмущениях, например, в результате изменения тяги правого винта, самолет начнет поворачиваться, в данном случае вправо, а золотник заставит руль поворота отклониться влево. Как и в предыдущем случае, самолет установится в некотором новом, отличном от начального, положении, в котором момент отклоненного руля скомпенсирует момент несимметричности сил тяги. Получим новое положение равновесия самолета, но не автомата, так как пружина 11 при этом растянута и будет смещать поршень катаракта 9 и золотника 4 вверх, отчего угол отклонения руля поворота влево еще увеличится. Равновесие самолета относительно оси уу нарушится, самолет начнет возвращаться на курс.
Процесс будет продолжаться до тех пор, пока пружина и золотник не установятся в нейтральное положение, соответствующее заданному курсу. В результате самолет стабилизируется на курсе. При этом руль отклонится влево на такой угол, при котором момент от руля точно скомпенсирует момент от несимметричности сил тяги и все части автомата, кроме штока рулевой машинки, займут нейтральное положение.
Дата добавления: 2025-01-15; просмотров: 655;











