Комплексные системы обеспечения безопасности движения на железных дорогах России: КЛУБ-У и ЕКС
На сети Российских железных дорог (РЖД) базовым средством обеспечения безопасности локомотива является комплексное локомотивное устройство безопасности (КЛУБ) и его модификации. Данная микропроцессорная система пришла на смену устаревшим разрозненным приборам, объединив и расширив их функционал в рамках единого комплекса. КЛУБ интегрируется с путевыми системами интервального регулирования и бортовым оборудованием для непрерывного контроля скорости и бдительности машиниста.
К основным функциям КЛУБ относится прием сигналов от напольных устройств (по рельсовым цепям или каналу цифровой радиосвязи) о допустимой скорости на текущем блок-участке и количестве свободных участков впереди. Система хранит данные о постоянных и временных ограничениях скорости на маршруте, контролируя их соблюдение. Важнейшей функцией является непрерывное сравнение фактической скорости, измеряемой собственными датчиками, с допустимой, с автоматическим отключением тяги и инициированием торможения при превышении.

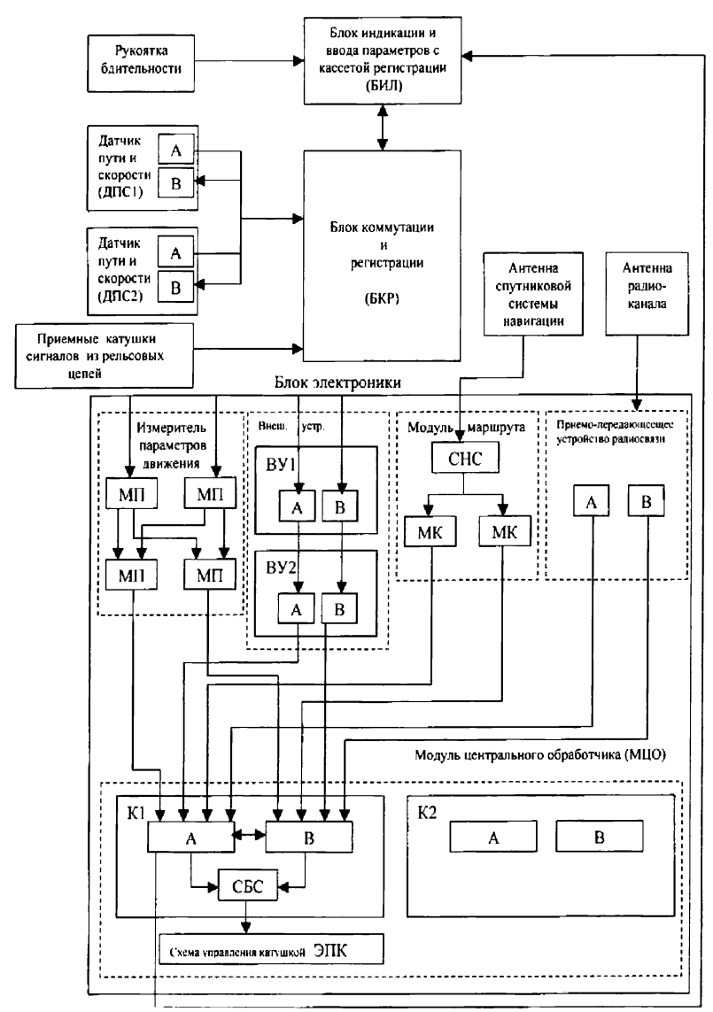
Рис. 1.2.6. Структурная схема комплексного локомотивного устройства безопасности КЛУБ-У
Современная модификация КЛУБ-У отличается модульной архитектурой, реализованной в виде открытой локальной сети. Это позволяет гибко наращивать или сокращать функциональность системы без конфликтов оборудования. В КЛУБ-У интегрирована аппаратура спутниковой навигации для высокоточного определения координат поезда и астрономического времени, а также используется электронный регистратор для непрерывной записи параметров движения в энергонезависимую память.
С 2002 года КЛУБ-У является основным устройством безопасности на сети РЖД и ключевым компонентом единой комплексной системы (ЕКС) управления и обеспечения безопасности. ЕКС объединяет несколько подсистем: КЛУБ-У, унифицированную систему автоведения поездов (УСАВП), систему автоматического управления торможением САУТ ЦМ/485 и телемеханическую систему контроля бодрствования машиниста (ТСКБМ). Такая интеграция позволяет реализовать сквозное управление движением с высочайшим уровнем безопасности.
УСАВП отвечает за энергооптимальное ведение поезда в соответствии с заданным графиком или расписанием. Система САУТ-ЦМ/485 выполняет прицельное служебное торможение, обеспечивая точную остановку у светофора с запрещающим показанием с учетом реальной эффективности тормозов состава. В свою очередь, ТСКБМ непрерывно контролирует уровень бодрствования машиниста, анализируя изменение электрического сопротивления его кожи с помощью датчиков, встроенных в наручный браслет, и передавая сигнал по микропередатчику в блок обработки.
При проектировании КЛУБ-У были заложены принципы безопасного построения микроэлектронных схем, что критически важно для устройств, влияющих на торможение. Центральным элементом, управляющим снятием питания с катушки электропневматического клапана (ЭПК), является модуль центральной обработки (МЦО) в составе блока электроники БЭЛ. Для достижения требуемого уровня надежности и безопасности МЦО построен с использованием «горячего» резервирования и двухканальной архитектуры.
В состав МЦО входят два решающих блока (К1 и К2), где второй находится в горячем резерве. Каждый из этих блоков, в свою очередь, выполнен по двухканальной схеме (каналы А и В) с идентичными микроконтроллерами и программным обеспечением. Все модули-источники информации также имеют двухканальное исполнение, причем выходы первых каналов подключены к каналу А решающего блока, а вторых — к каналу В, что обеспечивает синхронную обработку и взаимный обмен данными между каналами.
Ключевым элементом безопасности является схема безопасного сравнения (СБС). Она непрерывно сравнивает результаты вычислений каналов А и В. Пока результаты идентичны, СБС генерирует динамический сигнал, удерживающий питание на катушке ЭПК. При любом несовпадении (сбое, отказе) динамический сигнал пропадает, питание с катушки снимается, что приводит к автоматическому приведению в действие тормозной системы поезда. Такой подход гарантирует переход в защитное состояние при любой внутренней неисправности.
По своим эксплуатационно-техническим характеристикам КЛУБ-У находится на уровне, соответствующем лучшим зарубежным аналогам, таким как европейские системы семейства ZUB или компоненты ETCS. Интеграция КЛУБ-У в состав ЕКС с подключением спутниковой навигации, цифрового радиоканала и систем автоведения позволяет российским железным дорогам эффективно повышать пропускную способность и безопасность на линиях с различными профилями скорости, включая перспективные высокоскоростные магистрали.
Сведения об авторах и источниках:
Авторы: Анисимов П.С., Винокуров В.А., Воробьев В. И., и др.
Источник: Подвижной состав железных дорог
Данные публикации будут полезны студентам железнодорожных специальностей (эксплуатация железных дорог, подвижной состав), начинающим специалистам в области локомотивостроения и эксплуатации тягового подвижного состава, а также всем, кто интересуется устройством, классификацией и современными тенденциями развития железнодорожной техники.
Дата добавления: 2026-03-05; просмотров: 47;











