Почему ломаный шатун велосипеда не дает преимуществ: разбор механической ошибки
На протяжении истории развития велосипеда конструкция шатунов и характер передачи усилия ноги постоянно привлекали внимание изобретателей. Было предпринято множество попыток создать механизм, преобразующий привычное круговое движение педали в иное, более эффективное. Основными целями этих поисков являлись увеличение эффективного плеча рычага и одновременное сокращение траектории движения стопы велосипедиста.
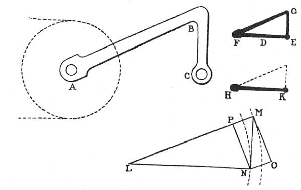
Автору на выставке была представлена модель, претендующая на решение данной задачи посредством ломаного шатуна. Изобретатель утверждал, что его конструкция (рис. 5) позволяет увеличить прилагаемое усилие без увеличения пути ноги, будучи проще существующих сложных механизмов. На схеме место крепления педали обозначено точкой C, а положение махового колеса и цепи показано пунктирными линиями, при этом отрезок AC равен длине стандартного прямого шатуна.

Рис. 5. Схема ломаного шатуна. Точка A — ось вращения, B — изгиб шатуна, C — точка крепления педали. Прямая AC обозначает длину обычного шатуна для сравнения.
Обоснование изобретателя строилось на двух утверждениях. Во-первых, если длина сегмента AB больше AC, то усилие ноги, приложенное через педаль в точке B, использовалось бы эффективнее. Однако это увеличило бы путь ноги, поэтому к AB под острым углом присоединён рычаг BC, возвращающий педаль в точку C на стандартном расстоянии от оси. Во-вторых, угол ABC подбирался так, чтобы в ключевой момент движения рычаг BC занимал вертикальное положение, что, по мнению автора, обеспечивало бы прямую передачу усилия.
Для специалиста в области механики ошибочность этих рассуждений очевидна. Эффективность рычага определяется исключительно длиной перпендикуляра от оси вращения до линии действия силы, то есть расстоянием от оси (A) до педали (C). Форма самого рычага — прямая, ломаная или кривая — не влияет на величину создаваемого момента, если конструкция жёсткая. Это фундаментальный принцип механики.
Рассмотрим конструкцию ломаного шатуна ABC. Поскольку материал жёсткий, расстояние между точками A и C остается неизменным. Мысленно добавим жёсткое соединение AC (линия D на рисунке), что не изменит механику системы. После этого сегменты AB и BC (CF и GE на вспомогательной схеме) можно условно удалить, оставив только прямой эквивалент EF (HK). Таким образом, ломаный шатун ABC механически тождественен прямому рычагу AC стандартной длины.
Опровергнув первое утверждение, перейдем к анализу передачи силы. Предположим, сила приложена вертикально в точке N (аналог C) и передаётся по рычагу NM (аналог BC) в точку M. Изобретатель полагал, что вся сила, представленная вектором MN, идёт на вращение. Однако полезная составляющая силы направлена по касательной к окружности вращения точки M (линия MO).
Для наглядного анализа строится параллелограмм сил. Сила MN раскладывается на две составляющие: одна (PM) направлена вдоль рычага NM и уравновешивается его реакцией, а вторая (MO) является касательной и совершает полезную работу. Поскольку MO — катет прямоугольного треугольника с гипотенузой MN, полезная сила всегда меньше полного усилия. Таким образом, утверждение о полной передаче силы неверно.
Если же представить, что то же усилие приложено непосредственно к концу прямого шатуна LN в точке N, то в горизонтальном положении рычага направление силы совпадёт с касательной, и оно используется полностью. Однако плечо рычага LN короче, чем у LM в ломаной конструкции. В итоге выигрыш в силе на длинном плече нивелируется её потерей из-за неоптимального направления приложения.
Несмотря на механическую несостоятельность, изобретатель мог располагать положительными отзывами пользователей, отмечавших повышение эффективности езды с таким шатуном, включая преодоление ранее недоступных подъёмов. Это кажущееся противоречие имеет рациональное объяснение. Частично эффект мог быть вызван благоприятными внешними условиями: использованием нового велосипеда, лучшим состоянием дороги или попутным ветром.
Однако ключевую роль играет психофизиологический фактор, известный как эффект плацебо в технике. Ездок, заинтересованный в успехе новинки и верящий в её преимущества, подсознательно мобилизует больше физических ресурсов. Его энтузиазм и ожидание прогресса приводят к более решительным и продолжительным усилиям. Таким образом, прирост мощности имеет не механическую, а психологическую природу.
Это яркий пример того, как субъективное восприятие и вера в эффективность устройства могут влиять на объективные физические результаты. Изобретатель пожинает плоды этого заблуждения, хотя его фактическая прибыль от подобных проектов обычно невелика. История техники знает множество подобных случаев, когда ошибки в расчётах маскировались энтузиазмом первых испытателей.
С точки зрения эволюции велосипедного привода, поиски альтернатив круговому педалированию велись постоянно. Появлялись конструкции с эллиптическими звездами, системой рычагов и даже линейным приводом. Однако классическая кривошипно-шатунная система с прямыми шатунами доказала свою оптимальность благодаря простоте, надёжности и эффективному использованию мышечных усилий на протяжении всего цикла вращения.
Физическая суть работы шатуна заключается в преобразовании возвратно-поступательного (на самом деле, кругового) движения педали во вращательное движение ведущей звезды. Крутящий момент определяется произведением силы, приложенной к педали, на длину шатуна и на синус угла между шатуном и направлением силы. Именно поэтому максимальный момент возникает, когда шатун горизонтален, а минимальный — в верхнем и нижнем положениях.
Конструкция ломаного шатуна, по сути, пытается обмануть этот фундаментальный закон, что принципиально невозможно. Любое жёсткое соединение между осью каретки и педалью создаёт рычаг, длина которого есть расстояние по прямой между этими точками. Все промежуточные изгибы лишь перераспределяют внутренние напряжения в материале, но не меняют внешнюю эффективность системы.
Развитие материаловедения позволило создавать облегчённые и аэродинамические профили шатунов, но их геометрия осталась прямолинейной. Современные системы регулировки длины шатунов также используют прямые конструкции, подстраивая расстояние от оси до педали под антропометрию конкретного велосипедиста, что действительно влияет на биомеханическую эффективность.
Анализ подобных ошибочных изобретений имеет большую педагогическую ценность. Он наглядно демонстрирует важность проверки теоретических построений через призму фундаментальных законов физики. Попытки создать «вечный двигатель» или обмануть законы механики периодически возникают, часто основываясь на схожих ошибках в понимании векторов сил и моментов.
В заключение можно констатировать, что простая прямая конструкция шатуна является оптимальным решением, проверенным временем и подкреплённым незыблемыми законами механики. Кажущиеся преимущества альтернативных систем, как правило, являются иллюзией, порождённой либо ошибкой в расчётах, либо субъективным восприятием, что и подтверждает разбор рассмотренного ломаного шатуна.
Сведения об авторах и источниках:
Авторы: В. Гампсон, К. Шеффер
Источник: Парадоксы природы
Данные публикации будут полезны студентам физических и технических специальностей, изучающих механику и принципы работы простых механизмов, начинающим инженерам и конструкторам, интересующимся эргономикой и оптимизацией транспортных средств, а также всем, кто увлекается историей техники и неочевидными физическими явлениями в повседневной жизни.
Дата добавления: 2026-02-16; просмотров: 40;











