Механизм переключения скоростей нагнетателя
Механизм управления переключением двухскоростного привода нагнетателя помещен в коробке передачи и изображен на фиг. 41 и 42.
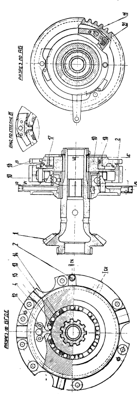
С задней стороны картера установлен подшипник- фланец 4, на цилиндрическом выступе которого помещен сектор 7 с резьбой. Рычажок а сектора связан системой рычагов с наружным рычагом управления переключением.
Наружный рычаг переключения скоростей поворачивает на определенный угол сектор 7 относительно ступицы подшипника-фланца.
На наружной цилиндрической поверхности сектор имеет прямоугольную многозаходную нарезку, на которую навернут конус 8. Конус имеет с плоского торца палец е, который входит в отверстие и подшипника-фланца, чем удерживает конус от проворачивания и при повороте сектора заставляет конус перемещаться только в осевом направлении.

Фиг. 41. Механизм переключения

Фиг. 43. Детали механизма переключения
В центральной части подшипника-фланца запрессована бронзовая втулка 6, в которой вращается хвостовик задней шестерни коленчатого вала 1. На хвостовике напрессована втулка 3, закрывающая выход шлиц и создающая упор для ведущей шестерни нагнетателя. Внутри хвостовика запрессована втулка 2, служащая подшипником валика нагнетателя.
На шлицевом конце задней шестерни коленчатого вала установлена ведущая шестерня нагнетателя 10 и шайба 17 со шлицами. Шестерня и шайба крепятся гайкой 19. Гайка контрится замком (шайбой) 18, у которого с одной стороны делаются вмятины-лунки против отверстий шайбы 17, а с другой — отгибается край замка в прорезь между шлицами гайки 19.
Между торцами шестерни и втулки подшипника установлена регулирующая шайба 22 для регулировки зазора в зацеплении задней шестерни с шестернями наклонных валиков.
На цилиндрической поверхности ступицы ведущей шестерни нагнетателя имеются 18 лысок. На ступице шестерни установлен сепаратор роликов 13. Сепаратор имеет 18 гнезд. В каждом гнезде помещен один ролик 14; ролики сгруппированы попарно. Перегородки между соседними роликами имеют выемки, в которых помещаются пружинки, разжимающие спаренные ролики в разные стороны.
Торцевая стенка сепаратора имеет три прорези в, в которые входят рычажки 12 коромысел 9.
На сепаратор и ролики свободно установлена большая шестерня управления 16, имеющая упоры б на торце, обращенном к ведущей шестерне нагнетателя, которая также имеет упор г. Большая шестерня управления имеет возможность свободно поворачиваться в ту или другую сторону относительно ведущей шестерни нагнетателя в пределах угла, ограниченного этими упорами. Число зубьев большой шестерни управления такое же, как и у ведущей шестерни нагнетателя.
В ведущей шестерне нагнетателя со стороны подшипника-фланца установлены три коромысла 9, сидящие на осях 11. Коромысла на одном конце имеют гнездо под пружину 21. Пружинки отжимают коромысла 9 к конусу 8. На коромыслах штифтами 20 укреплены рычажки 12.
Выступ рычажков входит в прорезь в сепаратора. При повороте коромысел рычажки поворачивают на определенный угол сепаратор.
Дата добавления: 2025-02-16; просмотров: 339;











