Газотурбовозы: применение альтернативного топлива и современные технологии
Актуальность применения газотурбинных двигателей на железнодорожном транспорте. Вопрос замены дизельного топлива альтернативными видами топлива, включая природный газ, приобретает особую актуальность в связи с мировым повышением цен на жидкое топливо и постепенным истощением запасов нефтепродуктов. Дополнительным фактором является острая проблема экологического загрязнения воздушной среды продуктами сгорания традиционных углеводородов. Природный газ обладает всеми качествами полноценного топлива для двигателей и во всем мире признан как более дешевое и экологически чистое топливо, что делает его перспективным для использования на железнодорожном транспорте.
На участках стыковки электрической и тепловозной тяги возникает серьезная эксплуатационная проблема: составы, приводимые электровозами, приходится расформировывать и вывозить тепловозами по частям, что экономически невыгодно и снижает эффективность перевозочного процесса. Решением может стать применение автономных локомотивов с газотурбинными двигателями, способных работать на различных видах топлива и обеспечивать бесперебойное движение составов на неэлектрифицированных участках.
Газотурбовоз представляет собой автономный локомотив, у которого основным двигателем, определяющим мощностные, тяговые и энергетические показатели, служит газотурбинный двигатель (ГТД). Создание новых газотурбовозов непосредственно связано с успехами в развитии газотурбинных двигателей, особенно в части повышения их экономичности и надежности. Наиболее эффективно применение таких локомотивов на участках железнодорожного пути с высокоскоростным движением поездов и малыми осевыми нагрузками вагонов.
Турбопоезд представляет собой автономный моторвагонный подвижной состав, на котором основным первичным двигателем, определяющим тяговые и энергетические показатели, также является ГТД. В отличие от газотурбовоза, где силовая установка расположена на одном или нескольких локомотивах, на турбопоезде газотурбинный двигатель и силовая передача составляют единое целое со всем подвижным составом, что обеспечивает оптимальное распределение тяговых усилий.
Турбопоезда применяются на неэлектрифицированных железных дорогах со скоростным движением пассажирских поездов. Например, применение ГТД на локомотиве Amtrak (США) позволило снизить его массу на 17 тонн, при этом динамическое воздействие на путь при движении со скоростью 240 км/ч оказалось меньше, чем у тепловоза при скорости 145 км/ч. Благодаря малой общей и неподрессоренной массе локомотива темпы изнашивания и расстройства пути не увеличиваются, что не требует существенной реконструкции верхнего строения пути.
Основные системы газотурбовозов. Газотурбовоз состоит из следующих основных систем: передачи мощности от ГТД к колесам, кузова, экипажной части, а также комплекса вспомогательных устройств, необходимых для работы газотурбинного двигателя и локомотива в целом. Запуск ГТД и приведение систем газотурбовоза в работоспособное состояние осуществляются с помощью вспомогательного дизеля мощностью 250-500 кВт, который запускается при помощи аккумуляторной батареи.
Схемы газотурбинных двигателей различаются по нескольким ключевым параметрам:
- условиям сжигания топлива – внутреннее или внешнее, замкнутая или разомкнутая система рабочего процесса;
- числу валов – одно-, двух- и многовальные конструкции;
- отбору мощности – от вала турбокомпрессора или свободной тяговой турбины;
- наличию промежуточного охлаждения сжатого воздуха;
- промежуточному подводу тепла или использованию тепла уходящих газов (рекуперация).
На газотурбовозе могут применяться передачи мощности следующих типов: электрическая постоянного тока, переменно-постоянного тока, переменного тока с асинхронными тяговыми электродвигателями, а также механическая и гидромеханическая. Выбор типа передачи определяется требуемыми тяговыми характеристиками и условиями эксплуатации локомотива.
Реализованная на большинстве первых газотурбовозов схема силовой установки представляла собой одновальный ГТД с электрической передачей постоянного тока тепловозного типа. Одновальный ГТД имеет неудовлетворительные тяговые характеристики, тождественные с дизельными, однако применение электрической передачи постоянного тока, переменно-постоянного тока или переменного тока с асинхронными тяговыми двигателями позволяет полностью обеспечить требуемые тяговые характеристики локомотива.

Рисунок 2.4.1. Схема силовой установки газотурбовоза с простейшим одновальным ГТД и электрической передачей постоянного тока: 1 - компрессор; 2 - камера сгорания; 3 - газовая турбина; 4 - понижающий редуктор; 5 - генератор постоянного тока; 6 - тяговый электродвигатель; Т - подача топлива
Разделение ГТД на турбокомпрессорную группу и свободную тяговую турбину позволяет обеспечить необходимые тяговые характеристики локомотива, поскольку свободная газовая турбина развивает максимальный вращающий момент при нулевой скорости или при трогании локомотива с места. Применение таких ГТД значительно расширяет возможности реализации силовых схем, в частности жестких передач, копирующих тяговые свойства первичного двигателя.

Рисунок 2.4.2. Схема силовой установки газотурбовоза с простейшим двухвальным ГТД и механической передачей: 1 - компрессор; 2 - камера сгорания; 3 - компрессорная турбина; 4 - свободная тяговая турбина; 5 - муфта сцепления; 6 - главный редуктор и реверс-редуктор; 7 - карданный вал; 8 - осевой редуктор; 9 - ведущая колесная пара; Т - подача топлива
Создание газотурбовозов совпало с началом развития и совершенствования газотурбинных двигателей, когда их экономичность не могла конкурировать с дизелями, устанавливаемыми на тепловозах. По этой причине газотурбинная тяга в те годы не получила дальнейшего развития, однако современные технологии позволили существенно повысить КПД газотурбинных установок.
Газотурбовозы с электрической передачей мощности. Первый в мире газотурбовоз мощностью 1618 кВт был построен фирмой Броун-Бовери (Швейцария) с газотурбинным двигателем, смонтированным на одной раме с редуктором и генератором постоянного тока. Рама служила резервуаром для топлива и масла, что было оригинальным конструктивным решением. Ходовая часть газотурбовоза была выполнена по паровозной схеме: четыре тяговые оси располагались в жесткой раме, а две колесные пары являлись направляющими бегунками.
Запуск двигателя осуществлялся главным тяговым генератором, получавшим питание от вспомогательной дизель-генераторной установки мощностью 81 кВт. После запуска ГТД возбуждение главного тягового генератора, привод электродвигателей вентиляторов охлаждения генератора и тяговых двигателей, топливных и масляных насосов, тормозного компрессора, а также зарядка аккумуляторных батарей производились от вспомогательных генераторов. Управление ГТД и тягой было выполнено аналогично применяемому на тепловозах.
Степень использования мощности в поездках не превышала 50%, поэтому эксплуатационный КПД локомотива составлял всего 7,1-9,4%. Столь низкие эксплуатационные показатели объясняются невысоким техническим уровнем газотурбинной установки того времени. Позднее фирмой Метрополитен-Виккерс электрикал компани (Великобритания) был построен опытный односекционный газотурбовоз 18100 с электрической передачей постоянного тока мощностью 2206 кВт.

Рисунок 2.4.3. Пассажирский газотурбовоз 18100: 1 - газовая турбина; 2 - компрессор; 3 - редуктор; 4 - выхлоп газов; 5 - генераторы; 6 - вспомогательный генератор; 7 - охладители масла; 8 - вентилятор; 9 - аппаратура пневматического тормоза; 10 - камера сгорания; 11 - тормозной компрессор; 12 - котел отопления поезда; 13 - аккумуляторная батарея; 14 - форсунки; 15 - вентилятор охлаждения тяговых двигателей
Широкое применение газотурбовозы получили в США. Фирмы Дженерал Электрик и Адко создали первый односекционный грузовой газотурбовоз 4500. На газотурбовозе был установлен одновальный ГТД, который через редуктор приводил во вращение четыре тяговых генератора постоянного тока и два вспомогательных генератора переменного тока. Для подогрева обработанного мазута до 80°С и для отопления поезда использовался паровой котел производительностью 365 кг/ч пара при давлении 140 МПа.

Рисунок 2.4.4. Грузовой односекционный газотурбовоз 4500 (США): 1 - компрессор; 2 - газовая турбина; 3 - выхлоп газа; 4 - тяговые генераторы (четыре); 5 - редуктор; 6 - вспомогательный дизель-генератор; 7 - тормозной компрессор; 8 - котел отопления поезда; 9 - генераторы переменного тока
Бак с двойным дном располагался по всей длине газотурбовоза и разделялся на отсеки для основного тяжелого топлива, дизельного топлива и воды. Главная рама газотурбовоза опиралась на четыре двухосные тележки. Локомотив оборудовался электродинамическим тормозом. Восьмилетний опыт эксплуатации на железной дороге 25 таких турбовозов показал устойчивую и надежную их работу.
Позднее был построен более мощный газотурбовоз 8500 с электрической передачей постоянного тока – двухсекционный с тендером объемом 86 тыс. литров тяжелого топлива, общей массой 370 тонн (без тендера). При трогании с места газотурбовоз развивал силу тяги 920 кН при коэффициенте сцепления 0,25. Длительно развиваемая сила тяги составляла 69,5 кН при скорости 29 км/ч.

Рисунок 2.4.5. Грузовой двухсекционный газотурбовоз 8500 (США): 1 - кабина машиниста; 2 - компрессор; 3 - вспомогательный генератор постоянного тока; 4 - генератор постоянного тока; 5 - вспомогательный дизель-генератор; 6 - редуктор; 7 - вентилятор генератора; 8 - тяговые генераторы; 9 - газовая турбина; 10 - выхлоп из турбины; 11 - тендер для топлива
В одной секции располагались кабина машиниста и вспомогательное оборудование: дизель-генератор мощностью 735 кВт, система охлаждения дизеля и масла газовой турбины, два вентилятора охлаждения тяговых двигателей, реостатный тормоз, топливный бак, аппаратура управления, два тормозных компрессора. В другой секции размещались газотурбинная установка, группа механизмов управления возбуждением главных генераторов и пуском турбины, реостатный тормоз, топливный бак, вентиляторы охлаждения тяговых двигателей.
Газотурбинный двигатель через редуктор, снижающий частоту вращения до 1050 мин⁻¹, приводил четыре главных генератора постоянного тока, которые питали 12 тяговых электродвигателей. Секции соединялись между собой 20 силовыми кабелями, четырьмя кабелями управления, двумя рукавами для охлаждающей воды, топливопроводом дизельного топлива и тормозными рукавами.
Основной запас тяжелого топлива заливался в тендер при температуре 93°С, которая поддерживалась в течение 45 часов при температуре наружного воздуха -40°С благодаря наличию изоляции толщиной 101,6 мм. Для выполнения одной и той же перевозочной работы газотурбовозы расходовали топлива примерно в 2 раза больше, чем тепловозы, однако затраты на топливо были одинаковыми, поскольку цены на тяжелое топливо значительно ниже дизельного.
Опыт эксплуатации газотурбовозов в США показал, что ГТД требуют на 30-50% меньше затрат на ремонт и эксплуатацию и в 5-6 раз меньший расход смазочных материалов по сравнению с дизелями, что является существенным преимуществом при долгосрочной эксплуатации.
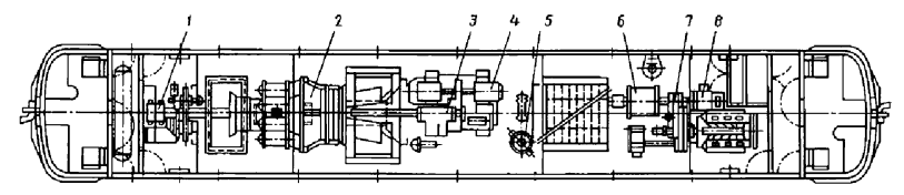
Отечественные газотурбовозы. Первый отечественный двухсекционный грузовой газотурбовоз Г1-01 мощностью 5147 кВт был построен Коломенским тепловозостроительным заводом. В средней части кузова на сварной раме устанавливался ГТД. Осевой компрессор ГТД засасывал наружный воздух через боковые сетчатые фильтры всасывающей камеры, которая имела звукоизоляцию стенок плитами поропласта, закрытого перфорированными листами. Отработавшие газы выбрасывались через выхлопной патрубок, в котором располагался подогреватель тяжелого топлива.

Рисунок 2.4.6. Двухсекционный грузовой газотурбовоз Г1-01: 1 - высоковольтная камера; 2 - отсек для газотурбинного двигателя, редуктора и тяговых генераторов постоянного тока; 3 - отсек для вспомогательного оборудования; 4 - дизель; 5 - вспомогательный генератор; 6 - ГТД; 7 - выхлопной патрубок; 8 - главный редуктор; 9 - трехмашинный агрегат; 10 - двухмашинный агрегат
Газотурбинный двигатель вращал главный редуктор, имеющий два ведомых вала. Редуктор, снижающий частоту вращения ротора ГТД, был одноступенчатым, с зубчатыми колесами шевронного типа и подшипниками скольжения. Передача к колесам – электрическая постоянного тока тепловозного типа. Тяговые генераторы компоновались в агрегаты: двухмашинный, состоящий из двух тяговых генераторов постоянного тока, и трехмашинный, состоящий из тягового генератора, вспомогательного генератора и возбудителя.
Вспомогательный дизель для пуска ГТД и передвижения при одиночном следовании приводил во вращение пусковой (маневровый) генератор и вспомогательный генератор для электропривода тормозного компрессора, вентилятора тяговых двигателей задней тележки и остального электрооборудования при неработающем ГТД. После пуска ГТД вспомогательный дизель останавливался. Привод вспомогательных механизмов был электрическим постоянного тока.
Управление работой ГТД осуществлялось из кабины управления рукояткой контроллера ГТД, а вспомогательного дизель-генератора – рукояткой контроллера дизеля. Запуск ГТД производился на дизельном топливе, а при выходе на режим холостого хода осуществлялся переход на работу на тяжелом топливе с содержанием серы до 3%. Газотурбовоз показал хорошие эксплуатационные качества и надежную работу в летних и зимних условиях.
На базе серийного тепловоза ТЭП60 с сохранением габаритных размеров и тележек были построены два пассажирских газотурбовоза ГП1-01. На них установили ГТД и электрическую передачу, аналогичные используемым на грузовом газотурбовозе. Более короткая база тепловоза ТЭП60 потребовала замены системы электрического привода вспомогательных агрегатов на механический от постоянно работающего вспомогательного дизеля мощностью 294 кВт.
Впоследствии выявились отрицательные стороны такого решения: малый моторесурс дизеля по сравнению с ГТД, остановка дизеля по любой причине, приводящая к остановке газотурбовоза, раздельные смазочные системы и использование разных масел, увеличение эксплуатационных расходов, поскольку периоды обслуживания дизеля меньше, чем остальных узлов газотурбовоза.
Эксплуатация газотурбовоза Г1-01 показала надежную работу ГТД и газотурбовоза в целом. Наиболее часто сменяемым элементом ГТД являлась жаровая труба камеры сгорания. Средний срок ее службы составил 1800 часов, что близко к заданному – 2000 часов. Смена жаровой трубы осуществлялась в течение 1-2 часов. Благодаря простоте конструкции и малым массам деталей и узлов ГТД легко разбирался, осматривался и ремонтировался даже в условиях депо.
КПД газотурбовоза составил 15%, расход топлива на измеритель перевозочной работы при полновесных поездах – 90 кг условного топлива, что в 2,3-2,4 раза больше, чем у тепловоза ТЭ3, но с учетом того, что используемое тяжелое топливо в 2 раза дешевле дизельного, а расход масла в 7-10 раз меньше, суммарные расходы на топливо и масло были одинаковыми. Поскольку расход топлива газотурбовоза изменяется в зависимости от нагрузки в 3-4 раза, важнейшим требованием к локомотивным ГТД является необходимость стабилизации КПД в широком диапазоне частичных мощностей.
Газотурбовозы с механической передачей мощности. Рядом зарубежных фирм исследовалась возможность применения в газотурбовозах механической передачи мощности от двигателя к движущим осям. Первый газотурбовоз с механической передачей мощностью 265 кВт был построен фирмой Боинг (США) и предназначался для маневровой работы. На локомотиве установлены два ГТД со свободной тяговой турбиной мощностью 2×135 кВт.
Оба ГТД через муфты сцепления соединялись с общим редуктором, вал которого связывался с механической передачей Торкметик-602, состоящей из комбинированного планетарного редуктора с постоянным зацеплением шестерен. Передаточное отношение изменялось с помощью гидравлических муфт. Выбор силовой схемы с двумя газотурбинными установками был обусловлен необходимостью повышения экономичности работы при частичных нагрузках: при нагрузке 50% и ниже один из ГТД отключался.
Заводами Шкода (Чехия) построены два газотурбовоза с регенераторным двухвальным ГТД со свободной тяговой турбиной, связанной через двухступенчатый редуктор и карданные валы с колесами локомотива. Температура газов перед турбиной составляла 650°С, степень повышения давления 4,8, степень регенерации 0,45. На расчетном режиме был достигнут КПД 22%, что обеспечивалось благодаря высокой эффективности турбомашин.
Предусмотренное в главном редукторе одно переключение скорости на практике реализовать не удалось. Для обеспечения трогания газотурбовоза на валу тяговой турбины был предусмотрен фрикционный тормоз. Результаты эксплуатационных испытаний газотурбовозов показали их низкую эффективность.
Интерес представляет проект пассажирского односекционного газотурбовоза мощностью 4412 кВт с механической передачей Коломенского тепловозостроительного завода. Благодаря широкому экономичному диапазону работы ГТД такой тип газотурбовоза мог использоваться без изменения передаточного отношения от ГТД к колесам во всем диапазоне скоростей движения.

Рисунок 2.4.7. Пассажирский газотурбовоз с механической передачей мощностью 4412 кВт: 1 - пусковой электродвигатель; 2 - газотурбинный двигатель; 3 - реверс-редуктор; 4 - маневровый электродвигатель; 5 - котел-подогреватель; 6 - маневровый генератор; 7 - редуктор; 8 - вспомогательный генератор
В качестве главного двигателя предусматривался двухвальный ГТД со свободной тяговой турбиной. Для пуска ГТД, одиночного следования газотурбовоза и привода агрегатов собственных нужд предусматривался постоянно работающий вспомогательный дизель. Механическая передача состояла из реверс-редуктора, валопроводов и силовой передачи тележек. Для остановки тяговой турбины во время реверсирования предусматривалось тормозное устройство.
Газотурбовоз с гидромеханической передачей. Газотурбовоз V210 (Германия) был создан для увеличения мощности дизельных локомотивов при движении по крутым элементам профиля горных участков, разгоне и вождении тяжелых грузовых поездов на базе тепловоза серии V216.00 с гидромеханической передачей. Дополнительно к дизелю фирмы MTU мощностью 1838 кВт на место снятого парового котла отопления поезда был установлен ГТД LM 100-8 мощностью 846 кВт.
Вращающий момент от ГТД через редуктор и карданный вал передавался дополнительному гидротрансформатору, связанному с общей гидропередачей. ГТД мог подключаться на тягу только при работающем дизеле. Время выхода ГТД с момента пуска до частоты вращения холостого хода составляло 30 секунд, с частоты вращения холостого хода до принятия полной нагрузки – 15 секунд.

Рисунок 2.4.8. Газотурбовоз с гидромеханической передачей: 1 - дизель; 2 - гидропередача; 3 - ГТД
Система регулирования силовой установки была устроена таким образом, что ГТД подключался к тяге только после 15-й позиции контроллера, когда дизель отдавал полную мощность. Такая схема позволяла эффективно использовать дополнительную мощность газотурбинного двигателя в наиболее тяжелых условиях эксплуатации.
Газотурбовоз с передачей переменного тока. На первом опытном газотурбовозе с ГТД были установлены два тяговых генератора переменного тока компании Алстом мощностью 1750 кВт каждый и четыре асинхронных тяговых двигателя мощностью 825 кВт с опорно-рамной подвеской в сочетании с полностью подпружиненными тяговыми редукторами. Такая конструкция обеспечивала оптимальное распределение нагрузок и снижение динамического воздействия на путь.
Тяговые двигатели получали питание от инверторных преобразователей на базе биполярных транзисторов с изолированным затвором (IGBT) , скомпонованных в модули тягового привода ONIX компании Алстом с водяным охлаждением. Полная продолжительная мощность газотурбовоза на ободе колесных пар составляла 3140 кВт, сила тяги при трогании – 220 кН.
Мощность, необходимая для питания нетяговых потребителей энергии (500 кВт), отбиралась от одного из тяговых генераторов. Тормозная система была комбинированной, сочетающей электродинамический и механический (дисковый колодочный) тормоза, что обеспечивало высокую эффективность торможения в любых условиях.
Газотурбовоз, работающий на сжиженном газе. Создание автономного локомотива, способного принять состав массой более 6000 тонн от электровоза и без переформирования доставить его до места назначения, является первоочередной задачей для многих железнодорожных администраций. Таким локомотивом может стать газотурбовоз с ГТД, работающий на сжиженном природном газе, что обеспечивает как экономическую эффективность, так и экологическую безопасность.
Всероссийский научно-исследовательский и конструкторско-технологический институт подвижного состава по заданию ОАО "РЖД" разработал техническую документацию на опытный образец газотурбовоза, работающего на сжиженном природном газе. При создании такого локомотива необходимо решить ряд сложных научно-технических задач.
К числу таких задач относятся:
- разработка системы пожаровзрывобезопасности;
- создание топливной системы, обеспечивающей устойчивую работу ГТД на сжиженном газе;
- разработка алгоритмов систем регулирования, обеспечивающих взаимодействие работы ГТД, топливной системы и электрической передачи;
- разработка локомотивных бортовых систем заправки, хранения, подготовки и подачи сжиженного газа к ГТД;
- создание гибкого трубопровода для передачи криогенного топлива с секции на секцию;
- разработка и постройка высокооборотных (6000 мин⁻¹) тяговых генераторов;
- создание микропроцессорных систем управления и диагностики, преобразовательных устройств;
- разработка систем маслообеспечения подшипников ГТД и генераторов с охлаждением масла криогенным топливом;
- создание системы экологической защиты и безопасности;
- разработка экипажной части газотурбовоза (кузова, тележек).
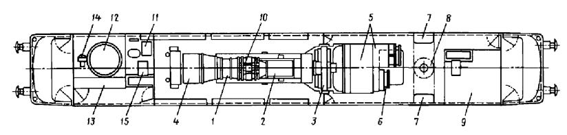
Оборудование газотурбовоза располагается в двух секциях – тяговой и бустерной, каждая из которых имеет собственную кабину управления. В тяговой секции устанавливаются силовой блок, состоящий из ГТД, вспомогательных систем, тягового агрегата, систем воздухоснабжения, безопасности и топливоподачи. Тяговый агрегат включает тяговый и вспомогательный генераторы.
В кабине управления размещаются унифицированный пульт с дисплеями системы управления и диагностики, пульты систем пожаровзрывобезопасности. Также в тяговой секции располагаются шкафы аппаратов и систем управления, выпрямительные и преобразовательные установки, компрессорный агрегат тормозной системы, централизованная система воздушного охлаждения тяговых электродвигателей и генераторов.
В бустерной секции, помимо кабины управления, размещаются вспомогательная дизель-электрическая станция со своим оборудованием, шкафы аппаратов и систем управления, централизованная система воздушного охлаждения, а также криогенная емкость, система заправки, подготовки и передачи газового топлива, включая гибкие межсекционные соединения топливопроводов.
Техническая характеристика разрабатываемого газотурбовоза предусматривает использование современных технологий и материалов, что должно обеспечить высокую эффективность и надежность работы на сжиженном природном газе. Применение таких локомотивов позволит существенно снизить эксплуатационные расходы и улучшить экологическую обстановку на железнодорожном транспорте.
Сведения об авторах и источниках:
Авторы: Анисимов П.С., Винокуров В.А., Воробьев В. И., и др.
Источник: Подвижной состав железных дорог
Данные публикации будут полезны студентам железнодорожных специальностей (эксплуатация железных дорог, подвижной состав), начинающим специалистам в области локомотивостроения и эксплуатации тягового подвижного состава, а также всем, кто интересуется устройством, классификацией и современными тенденциями развития железнодорожной техники.
Дата добавления: 2026-03-05; просмотров: 56;











