Типы атмосферных фронтов и их структура
В зависимости от условий циркуляции атмосферы в поле метеорологических элементов может произойти постепенный переход от одной воздушной массы к другой, т. е. между ними фронты не образуются. По этой причине атмосферные фронты и не опоясывают земной шар, а располагаются в виде отдельных ветвей.
Классификация фронтов. Классификация фронтов производится по следующим признакам:
1) по их роли в общей циркуляции атмосферы;
2) по направлению перемещения;
3) по характеру вертикальных движений воздуха вдоль фронтальной поверхности.
По первому признаку фронты подразделяются на главные и вторичные.
Главными называются такие фронты, которые разделяют основные воздушные массы тропосферы: АВ и УВ, УВ и ТВ, ТВ и ЭВ. Название фронтов определяется по названию холодной воздушной массы. Так, фронт между АВ и УВ носит название арктического, между УВ и ТВ — полярного (умеренного), между ТВ и ЭВ — тропического. На этих фронтах наблюдаются наибольшие контрасты температур, поэтому им принадлежит ведущая роль в процессах общей циркуляции атмосферы.
Вторичные фронты разделяют между собой отдельные объемы воздуха, имеющие несколько отличные свойства внутри одного и того же географического типа воздушной массы, например, «свежую» часть морского УВ от «старой» его части, но уже несколько трансформировавшейся. Эти фронты, как правило, имеют малую высоту и небольшие контрасты температур. Часто случается, что ввиду трансформации воздушных масс, разделяющихся фронтом, основной фронт размывается, особенно если он медленно движется и находится в области высокого давления, а движущийся за ним вторичный, напротив, обостряется. Тогда главным становится вторичный, а главный постепенно размывается.
По второму признаку (направлению перемещения) фронты делят на теплые, холодные и стационарные.
Теплым фронтом называется такой фронт, который движется в сторону холодного воздуха, и теплый воздух замещает холодный.
Холодным фронтом называется такой фронт, который движется в сторону теплого воздуха, и холодный воздух занимает районы расположения теплого воздуха.
Стационарный фронт — это неподвижный фронт, в котором ветер дует параллельно фронту, а сам фронт на синоптической карте лежит параллельно изобарам. Такое положение в атмосфере может быть лишь очень короткое время. Обычно фронт начинает двигаться в ту или другую сторону и превращается либо в теплый, либо в холодный.
Главные фронты в зависимости от направления движения также подразделяются на стационарные, теплые или холодные.
По третьему признаку (по характеру вертикальных, движений воздуха) фронты подразделяются на анафронты и катафронты.
Анафронтом называется такая фронтальная поверхность, вдоль которой теплый воздух поднимается вверх. В этом случае создаются благоприятные условия для образования облачности и осадков. Вблизи анафронта отмечаются восходящие движения, ослабевающие в сторону повышения температур.
Катафронтом называется такая фронтальная поверхность, вдоль которой теплый воздух опускается вниз. По этой причине на катафронте не наблюдается ни облачности, ни осадков и его прохождение проявляется только в поле температуры и ветра. Вблизи катафронта отмечаются нисходящие движения воздуха, усиливающиеся в сторону высоких температур.
Существует подразделение фронтов на приземные (малой вертикальной протяженности) и тропосферные (большой вертикальной протяженности). Отдельно выделяются фронты окклюзии, образующиеся при смыкании теплого и холодного фронтов в циклоне. Остановимся на структуре теплого, холодного фронтов и фронтов окклюзии.
Теплый фронт. Обычное положение теплого фронта на синоптической карте показано на рис. 130, из которого видно, что фронт располагается в барической ложбине, где наблюдается конвергенция потоков воздуха. Горизонтальная составляющая градиентного ветра направлена в сторону холодного воздуха, чем и обеспечивается перемещение фронта. Штриховкой на рисунке отмечена зона обложных осадков.
Вертикальный разрез теплого фронта дан на рис. 131.
Угол наклона теплого фронта обычно составляет 1/100—1/200, а в нижнем слое из-за трения он может быть еще меньше.
Спокойное натекание теплого воздуха над фронтальной поверхностью приводит к образованию спокойных слоистых облаков типа Ci, Cs, As, Ns, причем резкой границы между As и Ns не существует. Под фронтальными облаками As, Ns образуются разорванные дождевые облака Fn, иногда предфронтальный туман. Ширина полосы фронтальной облачности достигает 800—1000 км, а зоны осадков 300—400 км. Часто облачность теплого фронта расслоена, она состоит из трех и более разделенных слоев (Cs, As, Ns). Кроме этого, вдоль фронта могут наблюдаться разрывы в поле облачности и осадков, Расслоенность облачных систем может объясняться как неоднородностью воздушных масс (стратификация, влагосодержание), так и сложной динамикой у фронта. Разрывы облачности и осадков вдоль фронтов объясняются нисходящими движениями воздуха.
Ширина зоны обложных осадков на теплом фронте летом достигает 300 км, а зимой более 400 км, что связано с тем, что снег из высокослоистых облаков чаще достигает поверхности Земли, в то время как дождь в летнее время обычно при падении испаряется и до Земли не доходит.
Холодный фронт. Структура холодных фронтов различается в зависимости от того, быстро или медленно они движутся. По этой причине холодные фронты делятся на два рода:
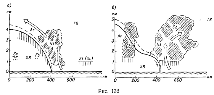
1) холодные фронты первого рода — это медленно движущиеся фронты, над поверхностями которых имеется сравнительно медленное (пассивное) восходящее движение (рис. 132, а). В соответствии с этим облачность холодного фронта первого рода напоминает облачность теплого фронта, расположенную в обратном порядке, т. е. сначала отмечается слоисто-дождевая (Ns), а затем высокослоистая (As). При неустойчивости теплого воздуха перед слоисто-дождевыми облаками могут наблюдаться кучево-дождевые. Ширина зон облаков и осадков здесь меньше, чем у теплого фронта;
2) холодные фронты второго рода — это быстродвижущиеся фронты, в передней части которых имеется нисходящее движение в холодном воздухе, а также в тыловой части и в теплом воздухе (рис. 132, 6). Перед холодным фронтом в теплом воздухе происходит бурная конвекция. На рисунках хорошо видна разница в структуре холодных фронтов первого и второго рода.

Следует отметить, что при прохождении холодных фронтов второго рода все процессы на фронте протекают более бурно, а метеорологические элементы изменяются более резко. Холодный фронт второго рода является катафронтом.
Перед холодным фронтом второго рода развиваются кучевые и кучево-дождевые облака, которым предшествуют высококучевые и перисто-кучевые облака. Облачность и осадки холодных фронтов изобилуют расслоенностью систем и разрывами.
Фронты окклюзии. Поскольку холодный фронт движется быстрее теплого, то в системе одного циклона через некоторое время он нагоняет теплый фронт и смыкается с ним, образуя сомкнутый фронт или фронт окклюзии. Дальнейший ход процессов будет зависеть от соотношения температур воздуха по ту и другую сторону этого фронта.
Если пришедший воздух имеет более высокие температуры, то по отношению к «старому» воздуху он будет вести себя как теплый воздух; в этом случае мы говорим об окклюзии по типу теплого фронта, при обратном соотношении — окклюзии по типу холодного фронта.
Ход процесса окклюзии по типу теплого фронта представлен на рис. 133, а, б, в и по типу холодного фронта — на рис. 133, г, д, в. В зависимости от типа окклюзии изменяется и структура фронтов, а также последовательный ход метеорологических элементов. Облачные системы фронтов окклюзий весьма разнообразны. Они сохраняют соответствующие системы смыкающихся фронтов и дополняются развитием собственных соответственно типу фронта окклюзии. В связи с этим приводить схемы облачных систем нецелесообразно.

По мере развития окклюзии теплый воздух все более и более вытесняется вверх, и фронт становится менее заметным в поле всех метеорологических элементов, а через некоторое время практически уже не обнаруживается и исчезает. При благоприятных условиях окклюзии могут развиваться, превращаясь в основные фронты.
Сведения об авторах и источниках:
Автор: Н. И. Егоров, И. М. Безуглый, В. А. Мнежинский, и др.
Источник: Морская гидрометеорология
Данные публикации будут полезны для курсантав морских учебных заведений и капитанаов/штурманов гражданского флота, интересующимся глубоким пониманием гидрометеорологии
Дата добавления: 2025-07-14; просмотров: 414;











