Привод магнето. Привод компрессора и генератора
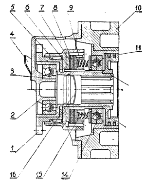
Привод магнето (фиг. 29 и 30) смонтирован в верхней части суппорта, прикрепленного к задней части картера мотора. Он в основном состоит из цилиндрической шестерни 12, ведущей конической шестерни 11 и пары конических шестерен 9.
Вращение шестерен привода магнето осуществляется от ведущей шестерни нагнетателя, посаженной на хвостовике задней шестерни коленчатого вала. Ведущая шестерня нагнетателя сцепляется с цилиндрической шестерней 12, которая соединена заклепками 14 с конической ведущей шестерней привода магнето 11, смонтированной в алюминиевом подшипнике 13, закрепленном в задней стенке верхнего картера.

Фиг. 29. Привод магнето

Фиг. 30. Детали провода магнето
Вращение ведущей шестерни привода магнето передается ведомым валикам, изготовленным за одно целое с коническими шестернями 9 привода правого и левого магнето.
Ведомые валики, вращающиеся каждый в двух шарикоподшипниках 8, смонтированы в стальных стаканах 10 и укреплены в суппорте на четырех шпильках 3. Между шарикоподшипниками установлены распорные втулки 6 с маслоотражающими дисками и регулировочные шайбы 7. Для уплотнения выхода валиков из стаканов на валиках сделаны маслоотражающие канавки и поставлены дисковые маслоотражатели 1 и маслоотражательные шайбы 2. Маслоотражательная шайба установлена в стакане неподвижно и зажимается между верхним кольцом шарикоподшипника и шайбой 5.
На концах ведомых валиков на шпонках Вудруфа посажены упругие муфты 4, посредством которых ведомые валики привода соединяются с валиками магнето и приводят их во вращение.
Привод компрессора АК-50. Корпус привода компрессора АК-50 (фиг. 32) укреплен в передней части картера мотора. Ось привода совпадает с осью коленчатого вала.

Фиг. 32. Привод компрессора АК-50
Вращение компрессора АК-50 осуществляется от коленчатого вала посредством валика 1 и шестерни 3. Валик на концах имеет шлицы. Одним концом он соединяется с пробкой-фланцем 2 конца коленчатого вала, а другим — с шестерней 3, которая в свою очередь сцепляется с шестерней эксцентрикового валика компрессора. Шестерня 3 вращается в бронзовом подшипнике 4, запрессованном в корпусе привода. Масло для смазки подшипника шестерни привода подается из масляной магистрали, из которой масло через корпус привода поступает во внутреннюю полость коленчатого вала.
Крепится компрессор АК-50 к корпусу привода шпильками.
Привод генератора. Привод генератора (фиг. 33) монтируется в задней стенке крышки редуктора. Ведущий зубчатый венец, укрепленный на торце ведомой шестерни редуктора, передает вращение генератору посредством шестерни 7, муфты 5, а также шестерни и муфты валика генератора 72. Корпус муфты шестерни, соединенный шлицами с шестерней 1, в задней части имеет внутренние шлицы, а муфта 12 валика генератора—наружные и внутренние шлицы. На внутренних шлицах муфты шестерни посажены фрикционные диски 7, между которыми на наружных шлицах муфты валика генератора посажены фрикционные диски 8.

Фиг. 33. Привод генератора
Диски прижаты друг к другу опорной шайбой 6 и пружинами 15, поставленными по окружности в обойме 9. Внутренние шлицы муфты 12 служат для соединения с хвостовиком вала генератора. Муфта валика генератора монтируется в корпусе 2 и крышке 10 на двух шариковых подшипниках 3 и 14. Для смазки привода на переднем торце крышки установлен маслоулавливатель 4. Уплотнение от попадания масла в генератор осуществляется двумя уплотнительными кольцами 11, установленными в обойме 13, посаженной на муфту валика генератора. Пустотелая часть муфты валика генератора закрыта заглушкой 16.
Силы трения, возникшие между фрикционными дисками под действием пружин 15, создают необходимый крутящий момент для передачи вращения генератору.
Фрикционная передача предохраняет зубчатый привод генератора от действия на его зубья динамических нагрузок, возникающих при резких изменениях режима работы мотора, от вращающихся частей генератора.
До тех пор пока момент сопротивления вращению генератора не превышает момента трения, создаваемого фрикционными дисками, привод работает как жесткий. Как только момент сопротивления вращению превысит момент трения, произойдет проскальзывание дисков, чем и ограничивается нагрузка на зубья шестерен привода генератора.
Привод нагнетающих и откачивающих масляных помп
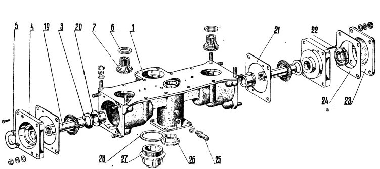
Нагнетающие и откачивающие масляные помпы смонтированы в. гнездах задней части нижней половины картера мотора (фиг. 34).
Привод помп осуществляется от задней шестерни коленчатого вала 17 посредством цилиндрической шестерни валика привода 18 водяной помпы и цилиндрических шестерен 9 и 13, соединенных с валиками нагнетающих и откачивающих помп. Валик нагнетающей помпы 8 в верхней части имеет шлицы, которыми он соединяется с валиком привода помпы 14. На шлицах верхнего конца валика привода посажена шестерня 13, закрепленная на нем гайкой 15, законтренной шплинтом. Вращается шестерня в алюминиевом подшипнике, закрепленном в картере винтами.

Фиг. 34. Привод нагнетающих и откачивающих масляных помп
Масло, проникающее по зазорам из нагнетающей помпы во внутреннюю полость валика, отводится по дренажным отверстиям в валике и шайбе. Это необходимо для того, чтобы не допустить создания во внутренней полости валика привода нагнетающей помпы повышенного давления и вследствие этого — осевого усилия.
Цилиндрическая шестерня 9, ведущая валик откачивающей помпы, соединена с валиком шлицами и закреплена от выпадания из валика специальным болтом 11. На валике откачивающей помпы срезано две пары противолежащих шлицев, а в нижней части стяжного болта имеются два выступа, входящих в эти прорези.
При закреплении шестерни на валике выступы болта поворачиваются на 90° относительно прорезей валика, шлицы шестерни соединяются со шлицами валика, а ее шестигранник сопрягается с шестигранником болта, после чего затягивается гайка.
Привод бензиновой помпы. Привод бензиновой помпы смонтирован в корпусе 1 (фиг. 34 и 35), укрепленном на задней части нижнего фланца нижней половины картера. Бензиновая помпа крепится на фланце привода, расположенном с левой стороны; подобный же привод, расположенный с правой стороны, используется для крепления дополнительной нагнетающей масляной помпы.

Фиг. 35. Детали привода бензопомп
Вращение к помпе передается от валика откачивающей масляной помпы. Валик имеет внутренние шлицы, в которые вставляется коническая шестерня 7. В хвостовике конической шестерни 19, смонтированной в корпусе 1, имеются внутренние шлицы, которыми она соединяется с валиком бензопомпы. Вращается шестерня в двух подшипниках, одним из которых служит крышка корпуса 4, а другим — бронзовая втулка 20, запрессованная в гнездо корпуса. Регулировка зазора в зацеплении шестерен производится шайбами 3 и 6. Смазка трущихся поверхностей приводов осуществляется барботажем.
Масло из полостей коробок приводов откачивается по каналам, сообщающим нижнюю часть коробок с полостями всасывания откачивающих масляных помп. Коробка привода бензопомпы изображена отдельно на фиг. 35.
В передней части снизу в коробку устанавливается редукционный клапан масломагистрали, закрытый колпаком 27 с прокладкой 28.
Привод водяной помпы. Водяная помпа установлена на нижнем фланце корпуса приводов бензопомп на четырех шпильках. Помпа приводится во вращение о г задней шестерни коленчатого вала 17 (см. фиг. 34). Валик привода водяной помпы 18 на одном конце имеет коническую шестеренку, сцепленную с задней шестерней коленчатого вала, на другом — внутренние шлицы 2, которыми он соединяется с валиком помпы. Вращается валик привода водяной помпы в алюминиевом подшипнике 16, закрепленном в картере мотора.
Дата добавления: 2025-02-16; просмотров: 342;











