Технологии газоплазменного напыления
Восстановление деталей автомобиля методами напыления покрытий
Напыление представляет собой процесс нанесения покрытия на поверхность детали с помощью высокотемпературной скоростной струи, содержащей капли расплавленного напыляемого материала порошка (металла), осаждающиеся на основном металле при ударном их столкновении с поверхностью.
Существующие технологии напыления в зависимости от применяемого источника тепловой энергии можно разделать на 2 вида:
1) газоплазменное напыление, при котором используется теплота сгорания смеси горючего газа с кислородом;
2) электрическое напыление, основанное на использовании теплоты горения электрической дуги.
Современный уровень технологии напыления покрытий позволяет осуществлять восстановление и упрочнение деталей машин различными композиционными материалами и получать покрытия, обладающие уникальными свойствами.
Применение покрытий имеет следующие преимущества:
1. Возможность нанесения покрытий на изделия из любого материала.
2. Отсутствие ограничений по размеру обрабатываемых поверхностей.
3. Относительная простота оборудования для нанесения покрытий.
4. Возможность широкого выбора материалов для напыления, что обеспечивает получение покрытий со специальными свойствами.
5. Незначительная деформация изделий под влиянием напыления.
6. Возможность применения покрытий для деталей сложной формы.
Недостатки:
1. Невысокая эффективность нанесения покрытий для деталей мелкой формы.
2. Вредные условия работы операторов.
3. Выделение дыма и аэрозолей во время напыления.
Технологии газоплазменного напыления
1. Газоплазменное напыление (рис. 21.1 и 21.2):

Рис. 21.1. Газоплазменная горелка для напыления порошка: 1 – рабочий газ; 2 – транспортный газ; 3 – порошок; 4 – сопло; 5 – факел пламени; 6 – покрытие; 7 – деталь

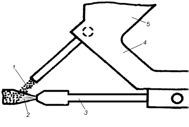
Рис. 21.2. Пистолет для наплавки порошка ацетилено-кислородной горелкой: 1 – порошок; 2 – пламя; 3 – газовая горелка; 4 – рукоятка; 5 – бункер для порошка
В зависимости от применяемого материала газоплазменное напыление может осуществляться проволокой, прутком и порошком. При напылении проволокой и прутком применяют специальные механизмы для их подачи через центральное отверстие горелки, где они расплавляются, распыляются сжатым воздухом и переносятся на поверхность детали. Диаметр проволоки обычно не более 3 мм.
В последние годы преимущественное применение получило газоплазменное напыление порошками, т.к. при этом не требуется специальных устройств для подачи проволоки и самое главное, имеется возможность регулирования в широких пределах состава наносимых покрытий.
В качестве транcпортирующего газа применяют инертные газы
(меньше окисление порошка) или сжатый воздух (дешевле и проще).
Газоплазменное напыление осуществляется материалами, температура плавления которых ниже температуры пламени (кислород-ацетилен кислород-бутан дают 3100 °С, кислород-пропан – 2760 °С). Наиболее широко применяются порошковые сплавы системы Ni,B,Cr,Si. Перед напылением основного слоя толщиной до 2 мм рекомендуется наносить подслой толщиной 0,05 – 0,15 мм из термореагирующих порошков, т.к. в этом случае лучшее сцепление наваленного слоя с основным металлом и получается более качественное покрытие.
Режимы газоплазменного напыления:
давление кислорода – 0,35-0,45 М1а;
давление ацетилена – 0,03-0,05 М1а;
расход кислорода – 960 – 1100 л/час;
расход ацетилена – 900 – 1000 л/час;
расход порошка – 2,5 – 3 кг/час;
оптимальное расстояние от среза сопла до поверхности -
l = 160 – 200 мм.
Перед напылением деталь рекомендуется нагреть до 50 – 100 °С. Перегрев более 250 °С недопустим.
2. Детонационное напыление является одним из специальных видов газоплазменного напыления. Главной особенностью детонационного напыления является циклический характер подачи порошка на поверхность обрабатываемой детали со скоростью, превышающей скорость звука. Осуществляется с помощью детонационных установок (рис. 21.3)
Из блока 1 газовая смесь подается в ствол 5. Одновременно из порошкового питателя заданными поршнями вдувают газом – азотом или воздухом – мелкодисперсный порошок и затем воспламенителей 2 поджигают газовую смесь. В результате происходит ее взрыв с выделением значительного количества теплоты и образованием детонационной волны, которая ускоряет и переносит на поверхность детали 6 напыляемые частицы.

Рис. 21.3. Схема детонационного напыления: 1 – блок газовых смесей; 2 – воспламенитель;
3 – блок поджига; 4 – блок подачи порошка; 5 – ствол; 6 – деталь
На расстоянии от среза ствола скорость частиц порошка достигает 820 м/сек. Благодаря этому в момент столкновения с поверхностью детали порошок разогревается до t = 4000°С, что обеспечивает высокую плотность покрытия и прочность его сцепления с основой (за счет подплавления основы).
Основные параметры детонационного напыления:
диаметр ствола до 25мм;
длина ствола – до 2000 мм;
частота выстрелов – 1-5 выстр./сек.;
оптимальная толщина покрытия – 0,2 – 0,4 мм;
производительность – 10-60 см2/мин.
При детонационном напылении можно использовать любые материалы, тугоплавкие соединения, оксида и др. Для получения износостойких покрытий применяют оксид алюминия Al2O3, самофлюсующиеся сплавы ПГСР, СНГМ, АСНГМ. Для повышения износостойкости используют карбиды вольфрама WC, титана TiC , хрома Сr2C3, борид хрома CrB2 с добавками по массе 8 – 20 % Ni или Со
| <== предыдущая лекция | | | следующая лекция ==> |
| Механизированные способы сварки и наплавки | | |
Дата добавления: 2016-08-23; просмотров: 2394;











