Конструктивные решения стыков крупнопанельных домов
Стыки крупнопанельных домов являются наиболее ответственными элементами в конструктивном решении здания. От их конструкции и способности нормально выполнять функциональное назначение зависит не только прочность и надежность здания в целом, но и его эксплуатационные качества, и физическая долговечность, Конструкция стыков определяет также конструктивное решение всех элементов здания, а следовательно, технологию их изготовления и монтажа.
Рассмотрим сопоставление характерных стыков в: традиционных и предложенных крупнопанельных зданиях: вертикального, образуемого примыканием наружных и внутренних стеновых панелей; горизонтального стыка наружных стеновых панелей и плит перекрытия; вертикального стыка внутренних стеновых панелей; горизонтального стыка внутренних стеновых панелей и плит перекрытия; стыка плит перекрытия.
В зданиях с традиционными конструктивными решениями, предназначенными для сейсмостойкого строительства [7—9 баллов], наиболее эффективно такие стыки выполнены в серии типовых проектов 92 и в конструктивных вариантах 83, 125, 135 и др. Принятые типы вертикальных стыков в функциональном отношении одинаковы и мало отличаются один от другого конструктивно.
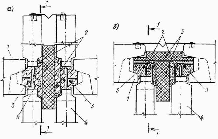
Рассмотрим конструктивное решение вертикальных стыков, образуемых наружными и внутренними стеновыми панелями (рис. 17, а, б). Анализируя традиционный тип сопряжения, можно заметить следующее (рис. 17, а): изготовление сопрягаемых элементов, как отмечалось ранее, осложняется устройством большого количества арматурных выпусков, а монтаж — необходимостью их взаимной сварки; герметизация стыка зачеканиванием вертикального паза осуществляется вручную; стык замоноличивается также вручную и требует установки опалубки; продольная вертикальная арматура в традиционном вертикальном стыке устанавливается далеко от центра тяжести сечения стены, поэтому ее работа в составе бетона замоноличивания малоэффективна и расположенную таким образом арматуру нецелесообразно предварительно напрягать.

Рис. 17. Характерные сопряжения наружных и внутренних стеновых панелей в традиционном а и предварительно напряженном б вариантах: 1 - вертикальная расчетная арматура; 2 - наружная стеновая панель; 3 - выпуски; 4 - внутренняя стеновая панель; 5 - горизонтальная напрягаемая- арматура; 6 - плита перекрытия; 7 - петля; 8 - герметизирующая резиновая лента
Предложенные стыки (рис. 17, б) свободны от перечисленных недостатков. Изготовление стеновых панелей упрощается из-за отсутствия арматурных выпусков или сведения их количества до минимума. Сварочные работы в условиях строительной площадки значительно сокращаются. Центр тяжести сечения бетона замоноличивания практически совпадает с центром тяжести сечения стены, там же располагается и вертикальная напрягаемая высокопрочная связевая арматура. Усилие ее натяжения равномерно, без эксцентриситета, передается на бетон замоноличивания и бетон панели, что повышает трещиностойкость стыка. В зависимости от уровня передаточного усилия в бетоне замоноличивания в зоне защемления следует предусмотреть хомуты согласно нормативам. Сплошное рифление заменено минимальным количеством шпонок, что упрощает изготовление элементов.
Полностью исключаются опалубочные работы, у прощается монтаж канатной арматуры протаскиванием через горизонтальные петли внутренних стеновых панелей.
Усилия распора воспринимаются в основном непрерывной напрягаемой горизонтальной связевой арматурой, вынесенной в стыки или в борозды в плитах перекрытия. Внутренняя стеновая панель заводится между панелями наружных стен, и три ее петлевых арматурных выпуска охватывают вертикальную канатную арматуру. После бетонирования полости — колодца образуется надежное шпоночное соединение, объединяющее наружные и внутренние стеновые панели, которые противостоят вертикальным сдвигающим усилиям и обеспечивают влагонепроницаемость стыка.
Герметизация стыка обеспечивается резиновой лентой, укладываемой во время монтажа и плотно прижимаемой к пазу между смежными панелями гидростатическим давлением, возникающим в бетоне во время замоноличивания колодцев. Полость стыка механизированным способом заливается бетонной смесью или раствором на всю высоту здания. Поскольку бетонируемая полость замкнутая, можно использовать бетоны на расширяющемся цементе, что значительно повышает плотность и герметичность стыка, делает его самонапряженным и исключает необходимость термовлажностной обработки в зимних условиях.
Таким образом, предлагаемый тип сопряжения по сравнению с традиционным более эффективен с конструктивной (меньшая металлонасыщенность, использование высокопрочной стали для армирования, предварительное напряжение, повышающее трещиностойкость) и технологической (упрощение изготовления элементов в заводских условиях, сокращение трудозатрат на сварочные, опалубочные и бетонные работы при монтаже на строительной площадке) точек зрения. Вместе с тем улучшаются функциональные качества стыка из-за его повышенной трещиностойкости.
Горизонтальные стыки наружных стен (рис. 18) образуются наружными стеновыми панелями и плитами перекрытий.

Рис. 18. Схема соединения наружных стеновых панелей с плитой перекрытия: 1 - наружная стеновая панель; 2 — плата перекрытия; 3 — шпонка; 4 — закладная деталь; 5 — арматурный выпуск; 6 — горизонтальная напрягаемая арматура
Функциональное назначение стыков — соединение сопрягаемых элементов, которое обеспечивает восприятие возникающих в наружных стенах усилий (нормальных сжимающих и растягивающих, а также сдвигающих, действующих в плоскости стены). Кроме того, к горизонтальному стыку предъявляется требование влагонепроницаемости, поэтому горизонтальные стыки наружных стен должны обладать необходимой прочностью, жесткостью и трещиностойкостью при воздействии статических эксплуатационных и сейсмических нагрузок.
Конструктивное выполнение стыка (рис. 19) максимально упрощено, количество арматурных выпусков и фигурных выемок, образующих шпоночные соединения, сведены до минимума, а для укладки напрягаемой горизонтальной связевой арматуры предусмотрена сплошная борозда в приопорной части плиты перекрытия.

Рис. 19. Сопряжение наружных стеновых панелей и плит перекрытия: 1 — наружная стеновая панель; 2 — плита перекрытия; 3 — горизонтальная напрягаемая арматура; 4 — закладная деталь; 5 — арматурный выпуск плиты перекрытия
Вертикальные стыки внутренних стеновых панелей выполняются в двух вариантах. По первому варианту панели объединяются выпусками, по второму — связями, привариваемыми к закладным деталям панелей внутренних стен. В обоих вариантах рифление боковых граней панелей заменено шпонками, количество которых обусловлено максимальным сдвиговым усилием. После бетонирования торцы сопрягаемых панелей образуют шпоночное соединение, воспринимающее сдвиг.
По первому варианту (рис. 20, а) распор, возникающий при сдвиге, воспринимается свариваемыми между собой арматурными выпусками-связями, количество которых сокращено до минимума. При сопряжении панелей с проемами соединение осуществляется в двух уровнях по высоте надпроемной перемычки, в остальных случаях — в трех уровнях. В целях унификации количество, геометрические размеры и местоположение шпонок для всех панелей назначаются одинаковыми в соответствии с расчетом на максимальное усилие сдвига. Такое конструктивное решение благодаря уменьшению числа выпусков упрощает технологию заводского изготовления панелей и в результате снижения объема сварочных работ сокращает трудозатраты при монтаже. Согласно этому варианту объем опалубочных работ остается достаточно большим, поэтому разработан второй вариант, в котором опалубочные работы исключаются (рис. 20, б).

Рис. 20. Сопряжение внутренних стеновых панелей арматурными а и жесткими б связями: 1 — внутренняя стеновая панель; 2 — коротыш; 3 — арматурные выпуски; 4 — вертикальная арматура; 5 — закладная деталь; 6 — уголок
В этом случае стыкуемые панели вплотную прилегают одни к другим, образуя на всю высоту здания канал, в который укладывается вертикальная связевая арматура. Панели объединяются сваркой закладных деталей через накладки. В этом случае расход металла несколько увеличивается по сравнению с конструктивным решением, принятым в первом варианте, .однако значительно уменьшаются трудозатраты, так как стыки замоноличиваются без опалубки механизированным способом.
Вертикальное армирование стыков панелей внутренних стен может выполняться стержневой или канатной арматурой. При диаметре стержневой арматуры до 18 мм ее стыковка производится сваркой внахлестку, при больших диаметрах — ванной сваркой. Поскольку ванная сварка — трудоемкий и металлоемкий процесс то целесообразно применение канатной арматуры, не требующей сварки.
Для обеспечения устойчивости здания во время монтажа необходимо поэтажное бетонирование вертикальных стыков внутренних стен. При стержневой вертикальной арматуре бетонирование ведется обычным способом, а при особых условиях, когда требуется сообщить напряжение вертикальной канатной арматуре, последнюю размещают в стыках с помощью каналообразователя. Сечение канатной арматуры подбирается расчетом здания по первому предельному состоянию. Уровень натяжения назначается по условиям требований к конструкциям III категории трещиностойкости с шириной раскрытия трещин асгс1 = 0,4 мм, аcrс2 = 0,1...0,3 мм (СНиП 2.03.01-84). Заполнение канала после натяжения канатной арматуры на всю высоту здания в один технологический прием производится инъецированием.
В случаях когда количество канатной арматуры велико (при высокой сейсмичности площадки строительства, например, для 9-этажных зданий при 9 баллах — серия 148-т для строительства на территории ТуркмССР), она размещается в специальных пазах в местах примыкания панелей внутренних стен (рис. 21).

Рис. 21. Сопряжение внутренних панелей (при высокой сейсмичности): 1 — внутренняя стеновая панель; 2 — коротыш; 3 — выпуски; 4 — расчетная стержневая арматура до 18 мм; 5 —канатная напрягаемая арматура
Сопоставление изложенных вариантов выполнения вертикальных стыков внутренних стен показывает, что в одном случае меньше расход металла и объем сварочных работ, но больше объем опалубочных и бетонных работ. Во втором случае больше металлоемкость и объем сварочных работ, однако меньше опалубочных и бетонных работ и, что самое важное, значительно упрощаются конструкция стыкуемых элементов и соответствующая бортоснастка, которая не имеет прорезей.
Вариант вертикального стыка панелей внутренних стен следует выбирать в каждом конкретном случае на основе анализа экономических показателей.
Горизонтальные стыки внутренних стеновых панелей (рис. 22) представляют собой комбинированную систему, в которой сдвигающие усилия воспринимаются шпоночными соединениями, а вертикальные нагрузки передаются через платформенный стык, в том числе и в местах шпоночных соединений.

Рис. 22. Схема сопряжения внутренних стеновых панелей и плит перекрытия
Конструктивное выполнение стыка, по возможности, Упрощается, что облегчает изготовление и монтаж панелей. Хотя, по существу, стык является платформенным, горизонтальные сдвигающие усилия воспринимаются и шпонками, конструкция которых аналогична шпонкам панелей наружных стен. Шпонки образуются армированными выступами на верхних и нижних торцах стеновых панелей и соответствующими вырезами по контуру плит перекрытий. Для облегчения установки панелей в проектное положение геометрические размеры выступов и вырезов необходимо назначать с допусками, исключающими дополнительную подгонку. Образующиеся полости замоноличиваются поэтажно по окончании монтажа плит перекрытий.
Отличие конструктивного исполнения шпоночных соединений горизонтальных стыков внутренних стен от традиционного (рис. 23, а) состоит в том, что в глухих панелях, как уже было отмечено, выпуски вынесены в стыки. После монтажа панелей очередного этажа производится их замоноличивание, при котором одновременно бетонируются стыки внутренних стен и шпонки типа «ласточкин хвост». Таким образом обеспечивается совместная работа внутренних стен и плит перекрытий здания, повышается пространственная жесткость сооружения (а. с. № 817167. — Опубл. в Б. И., 1981, № 12).

Рис. 23. Сопряжение внутренних стеновых панелей н плит перекрытия без связи а и с вертикальными связями б: 1 — внутренняя стеновая панель; 2 — плита перекрытия; 3 — арматурный каркас; 4 — шпонка стеновой панели; 5 — шпонка перекрытия «ласточкин хвост; 6 — выпуски
Объединение смежных панелей перекрытия, а также верхней и нижней панелей внутренних стен в традиционном варианте осуществляется сваркой арматурных выпусков. Сдвигающие усилия в горизонтальном стыке внутренних стен воспринимаются шпонками, устраиваемыми в платформенном стыке, и закладными деталями из прокатного профиля (см. рис. 9).
На рис. 23, б показан тот же узел при непрерывной вертикальной связи между стеновыми панелями в местах проемов, которая предотвращает образование трещин у грани надпроемной части и, кроме того, включает глухую часть панели в работу как диафрагму.
В здании с напрягаемой арматурой и шпоночным соединением элементов (рис. 23, а, б) в панелях перекрытий выпуски изъяты, смежные панели перекрытия объединяются железобетонными шпонками, типа «ласточкин хвост», которые рассчитаны на восприятие растягивающих усилий, возникающих в плоскости перекрытия при сейсмических воздействиях. Горизонтальные сдвигающие усилия между внутренними стеновыми панелями воспринимаются шпонками, конструкция которых предусматривает вовлечение в работу плит перекрытия.
В целях уменьшения изрезанности контура плит перекрытия выемки в них, предназначенные для выпусков стеновых панелей, целесообразно совмещать с местами устройства шпонок типа «ласточкин хвост». Такое решение, с одной стороны, обеспечивает совместную работу перекрытий и внутренних стен, с другой — препятствует выдавливанию и смещению шпонок «ласточкин хвост» при динамических воздействиях. Таким образом, вертикальные сжимающие усилия передаются как через платформенную часть стыка, так и через замоноличенные участки со шпонками.
Армирование шпонок типа «ласточкин хвост», работающих на растяжение, осуществляется плоскими каркасами. Диаметр арматуры принимается по максимальному расчетному усилию, возникающему между смежными плитами перекрытия, и по соображениям унификации одинаков для всех шпонок. Длина шпонки регламентируется условиями анкеровки арматуры и для упрощения бортовой оснастки также назначается одинаковой. Ширина шейки шпонки «ласточкин хвост» назначается с учетом толщины защитного слоя и расстояния между стержнями плоского каркаса. Это облегчает монтаж, исключает необходимость подгонки при несовпадении вырезов в плитах перекрытий. На основе экспериментальных исследований количество связей типа «ласточкин хвост» для объединения смежных плит перекрытия в зависимости от длины шва их примыкания назначается: до 3,6 м — 1 шт. (расположенная в середине); более 3,6 м — 2 шт. (расположенные симметрично).
Вертикальная арматура, стыкуемая сваркой в зоне шпоночного соединения (у проема), является рабочей. Совместно, с вертикальной напрягаемой арматурой она воспринимает растягивающие усилия, возникающие при изгибе внутренних стен-диафрагм. Количество напрягаемой и ненапрягаемой арматуры определяется расчетом.
Таким образом новый тип горизонтального стыка по сравнению с традиционным эффективнее в конструктивном отношении. Обеспечивается надежная совместная пространственная работа наружных и внутренних стеновых панелей и плит перекрытия. Уменьшение количества арматурных выпусков в панелях, почти полный отказ от них в плитах перекрытия, значительное сокращение сварочных и опалубочных работ повышают технологичность конструкций.
Представляет интерес конструктивное решение стыка наружных стен с плитами перекрытия и с внутренними стеновыми панелями для зданий, возводимых в южных районах с расчетной зимней температурой до —5°С. Плита перекрытия и внутренняя стеновая панель могут проходить между смежными панелями наружных стен на внешнюю сторону и создавать на фасаде балконные плиты (рис. 24, б), межбалконные перегородки или иные архитектурные и солнцезащитные элементы (рис. 24, а). Укрупнение элементов до массы, соответствующей оптимальной грузоподъемности крана, позволяет объединить плиты, перекрытия с балконной плитой, внутреннюю стеновую панель с межбалконной перегородкой (рис. 24, в). Все это упрощает конструктивную схему здания, сокращает количество типоразмеров и улучшает технологию монтажа.

Рис. 24. Сопряжение наружных и внутренних стеновых панелей с плитами перекрытия для зданий, разводимых в южных районах: а —выпуск плиты перекрытия на фасад; б —то же, как балкон; в — выпуск плиты перекрытия и внутренней стеновой панели на фасад; 1 — наружная стеновая панель; 2 — внутренняя стеновая панель в качестве межбалконной перегородки; 3 — плита перекрытия с балконом; 4 — напрягаемая арматура горизонтальная; 5 — то же, вертикальная
Вертикальная напрягаемая связевая - арматура в этом случае размещается симметрично по обе стороны внутренней стеновой панели, которая разделяет полость — колодец вертикального стыка на две части (рис. 24, в). Для обеспечения совместной работы бетона замоноличивания, находящегося по обе стороны панели внутренней стены, в ней устраиваются сквозные отверстия, в результате чего образуется соединение типа нагельного. Размер отверстий определяется из условия работы бетона на смятие и срез при возникновении в вертикальном стыке сдвигающих усилий. Таким образом, расчет стыка производится на смятие, срез и образование косых трещин как по шпонкам, так и по бетонным перемычкам нагельного типа.

Рис. 25. Угловой вертикальный стык наружных стеновых панелей: 1 — наружная стеновая панель; 2 — вертикальная напрягаемая арматура; 3 — герметизирующая резиновая лента; 4 — выпуск; 5 — коротыш
При сейсмических воздействиях основную нагрузку испытывает угловой вертикальный стык наружных стеновых панелей (рис. 25). Продольная и торцовая наружные стеновые панели соединяются свариваемыми арматурными выпусками и железобетонными шпонками. В бетоне замоноличивания размещается вертикальна напрягаемая арматура, охватываемая гнутыми коротышами, приваренными к арматурным выпускам панелей; замоноличивается на всю высоту здания поэтапно механизированным способом. В зданиях большей протяженности устраиваются температурно-усадочные, деформационные и антисейсмические швы. На рис. 26, а и 26, б показано устройство температурно-усадочных, деформационных и антисейсмических швов здания с лоджиями и без них.

Рис. 26. Устройство температурно-усадочных, деформационных и антисейсмических швов в зданиях с лоджиями а и без лоджий б: 1 — наружная стеновая панель; 2 — арматурная сетка; 3 — вертикальная напрягаемая канатная арматура; 4 — внутренняя стеновая панель; 5 — утепляющий пакет
Отличительной особенностью стыков по сравнению с традиционной конструкцией является установка дополнительных арматурных сеток и плотно прижимаемых, достаточно жестких утепляющих пакетов, которые обеспечивают безопалубочное поэтажное бетонирование стыка.

Рис. 27. Сопряжение наружных и внутренних стеновых панелей в местах наличия лоджий: 1 — стеновая панель наружная; 2 —то же, внутренняя; 3 — вертикальная напрягаемая канатная арматура
Если архитектурно-планировочное решение предусматривает устройство лоджий, возникает необходимость в стыковке наружных и внутренних стеновых панелей. В конструкционном отношении этот узел (рис. 27) решается аналогично рядовому стыку наружных и внутренних стеновых панелей, но изменяется последовательность монтажа — сначала монтируются одна из наружных и две внутренние панели, а в последнюю очередь — вторая наружная панель.
Сведения об авторе и источнике:
Автор: Л. С. Махвиладзе
Источник: Сейсмостойкое крупнопанельное домостроение
Дата добавления: 2025-03-25; просмотров: 322;











