Конструкция и проектирование главных несущих рам локомотивов: хребтовые балки и элементы жесткости
Главные несущие рамы локомотивов выполняют ключевую функцию восприятия и передачи вертикальных нагрузок (от веса оборудования), а также продольных усилий — тяговых, тормозных и инерционных сил. Эти нагрузки передаются на ходовые части (тележки или оси) и на ударно-тяговые приборы. От прочности и надежности этой конструкции зависит долговечность всего локомотива и безопасность движения.
Основными силовыми элементами конструкции являются две продольные балки и система поперечных креплений. В зависимости от компоновки, если балки смещены к центру, их называют хребтовыми балками. Соединение элементов рамы выполняется при помощи сварки или клепки. Выбор конкретной схемы расположения балок и креплений диктуется необходимостью размещения силового оборудования (дизеля, трансформатора) и способом передачи усилий на тележки.
При создании чертежей рамы инженеры стремятся достичь баланса между несколькими противоречивыми требованиями: максимальной прочностью и жесткостью, минимальной металлоемкостью и технологичностью производства. Например, попытка снизить вес конструкции неизбежно ведет к риску потери несущей способности. Поэтому оптимальным считается не самое прочное или самое легкое решение, а то, которое дает наибольший экономический эффект при эксплуатации и изготовлении.
Анализ существующих конструкций позволяет выделить общие закономерности проектирования. Продольные балки являются основой, поэтому места приложения максимальных усилий (опоры дизель-генератора, тягового трансформатора, ударно-тяговых приборов) стараются располагать максимально близко к этим балкам. Это снижает изгибающие моменты и повышает ресурс рамы.
Расположение продольных балок над тележками жестко лимитировано по высоте (до 500 мм), что накладывает ограничения на их несущую способность. Увеличение высоты балок для повышения прочности ведет к негативным последствиям: подъему центра масс локомотива (ухудшение динамики) и увеличению эксцентриситета приложения продольных сил от автосцепки.
Согласно требованиям ПТЭ, линия действия продольных сил от автосцепки находится на высоте 1050 мм от головки рельса, что значительно ниже главной рамы. Это создает эксцентриситет, изгибающий раму. В электровозе ВЛ8 пытались решить эту проблему выносом приборов на тележки, но это усложнило конструкцию. На большинстве серийных машин (ВЛ80, ВЛ85) применяют рамы охватывающего типа, разнося балки максимально широко, чтобы опустить их ниже и уменьшить негативное влияние эксцентриситета.
Для изготовления продольных балок используется прокат. Например, на тепловозах ТЭЗ, ТЭМ2 и 2ТЭ10В применяют усиленные двутавры (см. рис. 2.2.5, а). Конструкция рам старых электровозов, таких как ВЛ22, строилась на базе двух швеллеров, связанных стальными листами (рис. 2.2.5, б). В более поздних моделях, например, на ВЛ60 и ВЛ80, продольная балка представляет собой вертикальный лист с приваренными швеллерами (рис. 2.2.5, в).

Рис. 2.2.5. Поперечные сечения хребтовых балок: а - ТЭЗ; б - ВЛ22М, в - ВЛ60 и ВЛ80
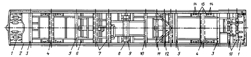
Рассмотрим конструкцию главной рамы тепловоза 2ТЭ10В (рис. 2.2.6). Ее хребтовые балки 4 выполнены из двутавра №45а, полки которого усилены стальными полосами. Торцы балок вварены в лобовые листы 7, а литые стяжные ящики 6 приклепаны снизу. Для увеличения полезной ширины рамы и опирания кузова служат поперечные кронштейны и обносной пояс 5, на котором также расположены опоры 1 для домкратов.
Между хребтовыми балками размещены кондуиты для электрокабелей и каналы охлаждения тяговых электродвигателей (ТЭД). В центральной части выполнен поддон для установки дизель-генератора. Опирание на тележки осуществляется через четыре шаровые опоры 3 и два шкворня 2, передающих тяговые усилия. Все ответственные литые детали (шкворни, стяжные ящики) выполнены из стали 25Л-Н, а сменные шкворневые кольца термообработаны до твердости 225...305 НВ.

Рис. 2.2.6. Главная рама тепловоза 2ТЭ10В: 1 - опора для подъема тепловоза; 2 - шкворень; 3 - шаровая опора; 4 - хребтовая балка; 5 - обносной пояс; 6 - стяжной ящик; 7 - лобовой лист; 8 - отсеки для аккумуляторных батарей
Главная рама электровоза переменного тока ВЛ80 (охватывающего типа) состоит из двух мощных боковин 7, буферных брусьев 1 и специальных усиленных балок под трансформатор 5 и шкворневые балки 2 (рис. 2.2.7). Буферный брус имеет коробчатый проем для поглощающего аппарата и розетку 9 для автосцепки. Шкворневая балка коробчатого сечения усилена конической обечайкой 14, внутри которой монтируется шкворень 12, фиксируемый гайкой 11.
Боковины 7 рамы кузова сварены из мощной полосы (900x8 мм) и двух швеллеров (№30 и №16), что обеспечивает высокую жесткость на изгиб. Нижний швеллер расположен на уровне оси автосцепки для оптимальной передачи продольных нагрузок. Жесткость всей пространственной конструкции также обеспечивается продольными 3 и поперечными 4 элементами из уголков и гнутого профиля, а также настилом пола.

Рис. 2.2.7. Главная рама электровоза ВЛ80: 1 - буферный брус; 2 - шкворневая балка; 3 - продольный элемент; 4 - поперечный элемент; 5 - балка под трансформатор; 6 - стальной конус; 7 - боковина; 8 - стакан боковой опоры; 9 - розетка автосцепки; 10 - втулка; 11 - гайка; 12 - шкворень; 13 - фланец; 14 - обечайка
Рама кузова современного магистрального электровоза ВЛ85 (рис. 2.2.8) также выполнена по охватывающей схеме. Основу конструкции составляют боковины 2 из полосы 12x900 мм с приваренными швеллерами №30 и №16. Такая схема позволяет создать жесткую пространственную конструкцию, способную воспринимать большие эксплуатационные нагрузки.
Рамы кузовов представляют собой сложные сварные конструкции. Для обеспечения точности геометрии их сборка производится в специальных стендах. При проектировании особое внимание уделяется качеству сварных швов: они должны быть минимального сечения и располагаться симметрично, чтобы избежать коробления металла. В местах концентрации напряжений (переходы балок) используются плавные косынки, а приварка вспомогательных деталей с поперечными швами в таких зонах запрещена.
Качество сборки контролируется строго. В чертежах указывается класс ответственности швов и квалификация сварщиков. На особо нагруженных соединениях обязательна плавная разделка кромок и зачистка швов без подрезов. Контроль целостности сварных соединений выполняется с помощью ультразвуковой дефектоскопии или рентгенографии.

Рис. 2.2.8. Рама кузова электровоза ВЛ85: 1 - буферные брусья; 2 - боковина; 3 и 12 - балки, предназначенные соответственно под кабину машиниста и блок мотор-компрессора; 4,7 и 8- балки соответственно стяжные, подтрансформаторные и несущие; 5,10 и 12 - промежуточные балки; 6 - подвеска; 9- опора кузова; 11 - ферма; 14 и 15 - кронштейны соответственно для балансиров люлечных подвесок и гасителей колебаний
Основные элементы. Стенки кузова. На отечественных магистральных электровозах стенки кузова являются не несущими, а защитными. Их функция — предохранять оборудование от осадков, пыли и солнца. Изготавливаются они из гофрированной стали, подкрепленной изнутри стойками и горизонтальными элементами жесткости (Z-образные профили), что предотвращает коробление листов.
В стенках интегрированы окна и лабиринтные жалюзи, являющиеся частью системы очистки воздуха, поступающего для охлаждения тяговых двигателей. Стенки жестко соединяются с рамой кузова и крышей при помощи сварки, формируя единый замкнутый контур.
Крыша кузова выполняет аналогичную защитную функцию. В ней предусмотрены технологические проемы для монтажа и демонтажа крупногабаритного оборудования (токоприемников, блоков резисторов), которые закрываются легкосъемными люками. При расчетах прочности кузова несущая способность элементов крыши, как правило, не учитывается.
Каркасы и воздуховоды. Размещение оборудования — это сложная система. Наиболее тяжелые агрегаты (трансформаторы, дизели) крепятся напрямую к несущим балкам рамы. Остальное оборудование монтируется на вспомогательных каркасах, вваренных в раму и стенки. Эти каркасы также служат для связи пола, стен и крыши в поперечных плоскостях, повышая общую жесткость кузова как пространственной фермы.
Внутри каркасов и под полом проложены воздуховоды, подающие охлажденный и очищенный воздух к тяговым двигателям, трансформатору и реакторам. Входные вентиляторные камеры у стен спроектированы так, чтобы выравнивать поток воздуха перед лабиринтными жалюзи. На боковых стенках также размещаются песочницы — бункера для запаса песка, подаваемого под колеса для увеличения сцепления.
Путеочистители. Для защиты оборудования ходовых частей и удаления посторонних предметов с рельсов спереди и сзади локомотива устанавливаются путеочистители. Эта деталь, отлитая из стали или сваренная, крепится к стяжному ящику рамы. Конструкция путеочистителя также служит местом крепления рукавов тормозной магистрали и датчиков автоматической локомотивной сигнализации (АЛСН).
Ударно-тяговые приборы. Для сцепления с составом в стяжных ящиках рамы монтируются ударно-тяговые приборы. Они состоят из автосцепки СА-3 (саморасцепляющаяся третьего типа) и поглощающего аппарата. Задача аппарата — гасить энергию ударов и рывков, неизбежных в поезде. В классическом фрикционном аппарате энергия поглощается трением между клиньями и корпусом.
Современные требования безопасности и рост скоростей заставляют применять более энергоемкие аппараты. Помимо фрикционных (Ш-2-В, Ш-4-Г), используются гидрогазовые аппараты, например, ГА-100м энергоемкостью 100 кН·м. Это позволяет эффективнее гасить продольные колебания и защищать раму и экипаж от запредельных нагрузок при аварийных соударениях и маневровых работах.
Сведения об авторах и источниках:
Авторы: Анисимов П.С., Винокуров В.А., Воробьев В. И., и др.
Источник: Подвижной состав железных дорог
Данные публикации будут полезны студентам железнодорожных специальностей (эксплуатация железных дорог, подвижной состав), начинающим специалистам в области локомотивостроения и эксплуатации тягового подвижного состава, а также всем, кто интересуется устройством, классификацией и современными тенденциями развития железнодорожной техники.
Дата добавления: 2026-03-05; просмотров: 76;











